CYP EL-42PIP handleiding
Handleiding
Je bekijkt pagina 10 van 48

10
6.3 Remote Control
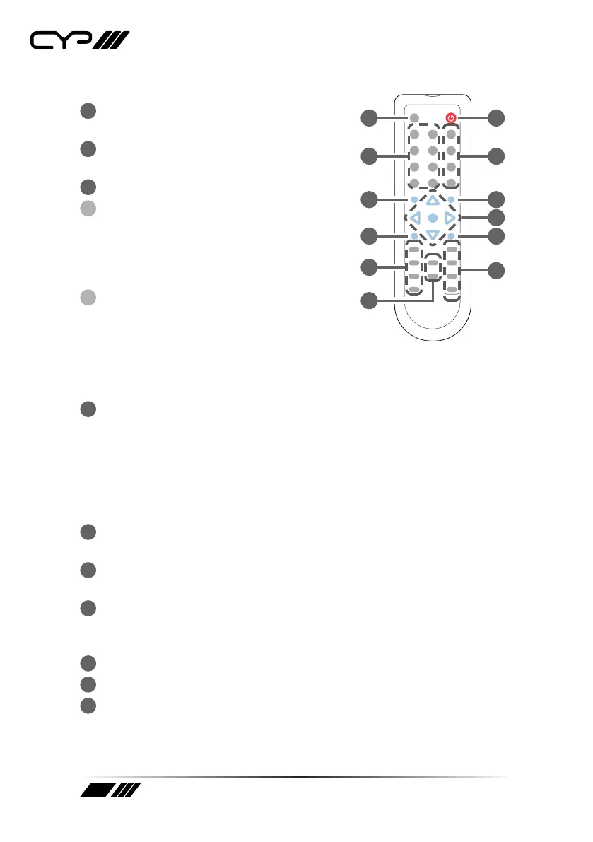
1
POWER: Power on the machine or enter to
standby mode.
2
INFO: Display the current status/
information of the unit.
3
A1~A4 & B1~B4: (Matrix Selection)
A
When all inputs and outputs are
below 4K: Press any of these buttons to
seamlessly switch to the selected input
(1~4) for display on the associated output
(A or B).
B
When any input or output is 4K: Press
any of these buttons to seamlessly switch
to the selected input (1~4) for display on
both outputs simultaneously.
Note: Audio for both outputs will follow the most recently selected input
(from A or B) in both modes.
4
MV1~MV4: (Multiview Selection) Press these buttons to switch
immediately to the corresponding Multiview output mode.
MV1: Switch to 2×2 quad view mode.
MV2: Switch to the 3+1 quad view mode.
MV3: Switch to the side-by-side view mode
MV4: Switch to PiP view mode.
5
MATRIX/MULTIVIEW: Press to toggle between the Matrix and
Multiview modes.
6
LOCK: Press to lock all button functions on the front panel. Press the
button again to release the lock function.
7
ARROWS (
/
/
/
) & OK: Press the arrow buttons to navigate
the LCD menu. Press the “OK” button to confirm a selection or to go
deeper into a menu item.
8
MENU: Press to enter the LCD menu.
9
EXIT: Press to exit out of the current LCD menu item.
10
W1~W4: (Window Source Selection) Press these buttons to
sequentially switch through the available inputs for each window (1~4)
in Multiview output modes.
INFO POWER
A1 B1
A2 B2
A3 B3
A4 B4
MV1
MV2
MV3
MV4
LOCK
MATRIX/
MULTI VIEW
EXIT MENU
OK
SAVE
PRESET
W1
W2
W3
W4
SOURCE
MUTE
UP
DOWN
AUDIO
CR-180
2
3
11
6
9
10
1
4
5
7
8
12
Bekijk gratis de handleiding van CYP EL-42PIP, stel vragen en lees de antwoorden op veelvoorkomende problemen, of gebruik onze assistent om sneller informatie in de handleiding te vinden of uitleg te krijgen over specifieke functies.
Productinformatie
Merk | CYP |
Model | EL-42PIP |
Categorie | Niet gecategoriseerd |
Taal | Nederlands |
Grootte | 3608 MB |
Caratteristiche Prodotto
Kleur van het product | Zwart |
Gewicht | 3500 g |
Breedte | 438 mm |
Diepte | 269 mm |
Hoogte | 49 mm |