Handleiding
Je bekijkt pagina 60 van 72

24 49-1000105 Rev. 0
4
COLOQUE EL REFRIGERADOR
EN SU LUGAR
Mueva el refrigerador a su destino final.
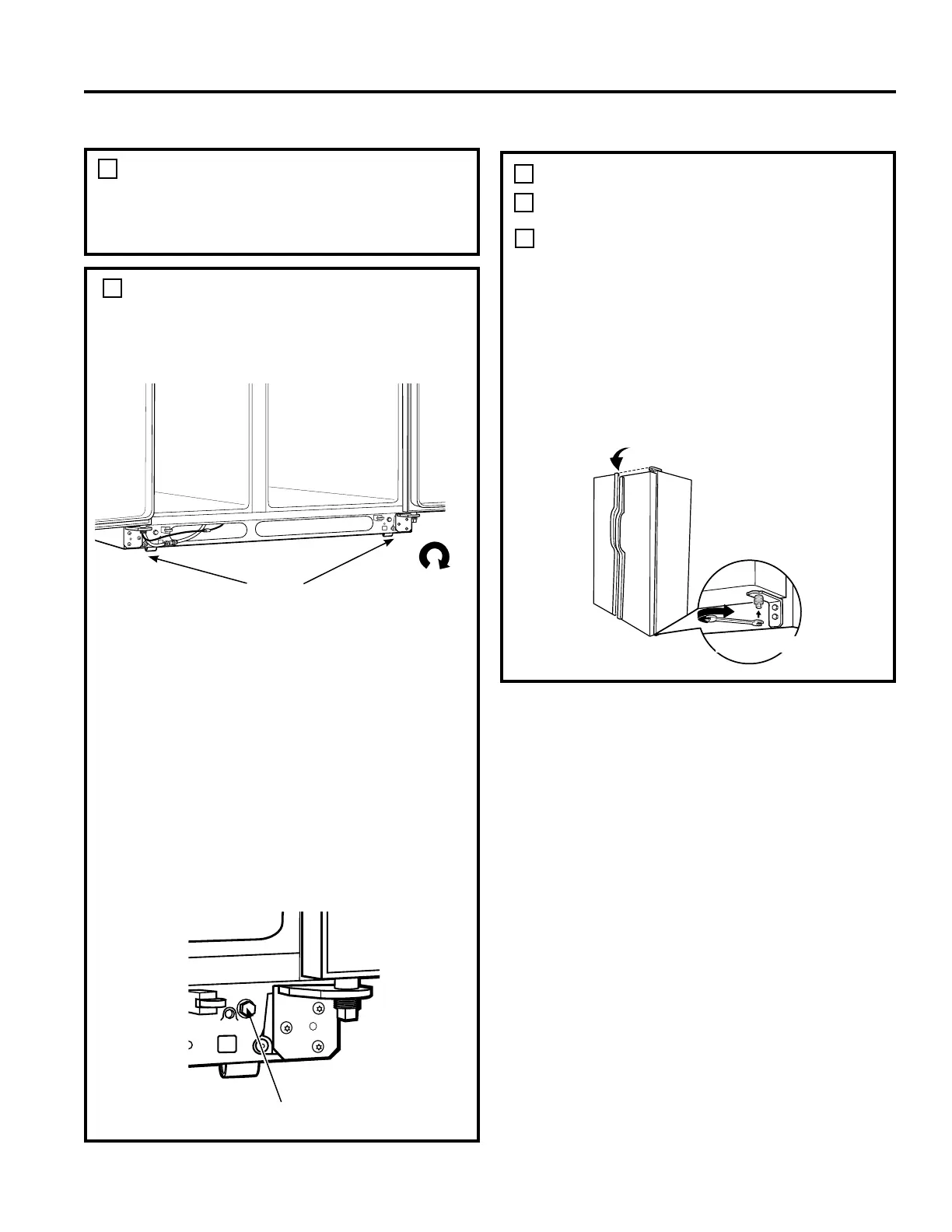
5
CÓMO NIVELAR EL
REFRIGERADOR
El refrigerador puede nivelarse ajustando los rodillos
localizados cerca de las bisagras inferiores.
Los rodillos tienen tres propósitos:
• Los rodillos se ajustan para que la puerta cierre con
facilidadcuandoestémedioabierta.(Levanteel
frenteaproximadamente5/8”[16mm]delpiso.)
• Los rodillos se ajustan para que el refrigerador esté
colocado firmemente en el piso y no tambalee.
• Los rodillos se ajustan para que el refrigerador
pueda ser alejado de la pared en momentos de
limpieza.
Para ajustar las rueditas en los
modelos de 23’, 25’:
• Gire los tornillos de ajuste del rodillo en sentido de
las manecillas del reloj para levantar el refrigerador,
y en contra de las manecillas del reloj para bajarlo.
Use una llave o un cubo de cabeza hexagonal de
3/8” o una llave ajustable.
Rodillos
Levante
Tornillo de ajuste del rodillo
NIVELES LAS PUERTAS
Ajuste la puerta del refrigerador para que las puertas
estén niveladas en la parte superior.
Para linear:
Usando una llave de 7/16”, gire el tornillo ajustable
de la puerta hacia la derecha para levantar la puerta,
y a la izquierda para bajarla.
NOTA:
Un tapón de nilón, empotrado en las roscas del
pasador, evita que el pasador gire a no ser que se
use una llave.
Despuésdeunaodosvueltasdelallave,abray
cierre la puerta del refrigerador y cerciórese de que
están alineadas en la parte superior.
6
A
B
Las puertas deben estar
alineadas en la parte superior
Levantar
Llave de 7/16”
CÓMO INSTALAR EL REFRIGERADOR (Cont.)
Instrucciones para la instalación
INSTRUCCIONES PARA LA INSTALACIÓN
Bekijk gratis de handleiding van Crosley XSS25GSKW, stel vragen en lees de antwoorden op veelvoorkomende problemen, of gebruik onze assistent om sneller informatie in de handleiding te vinden of uitleg te krijgen over specifieke functies.
Productinformatie
| Merk | Crosley |
| Model | XSS25GSKW |
| Categorie | Koelkast |
| Taal | Nederlands |
| Grootte | 10044 MB |







