Handleiding
Je bekijkt pagina 11 van 14

5925 Heisley Road • Mentor, OH 44060-1833
Call Toll-free: 877-CRES COR (273-7267) • Fax: 800-822-0393 • www.crescor.com
Retherm Oven
FL-2357
Rev. 5 (2/15)
Page 11 of 14
ITEM DESCRIPTION Part No. ITEM DESCRIPTION Part No.
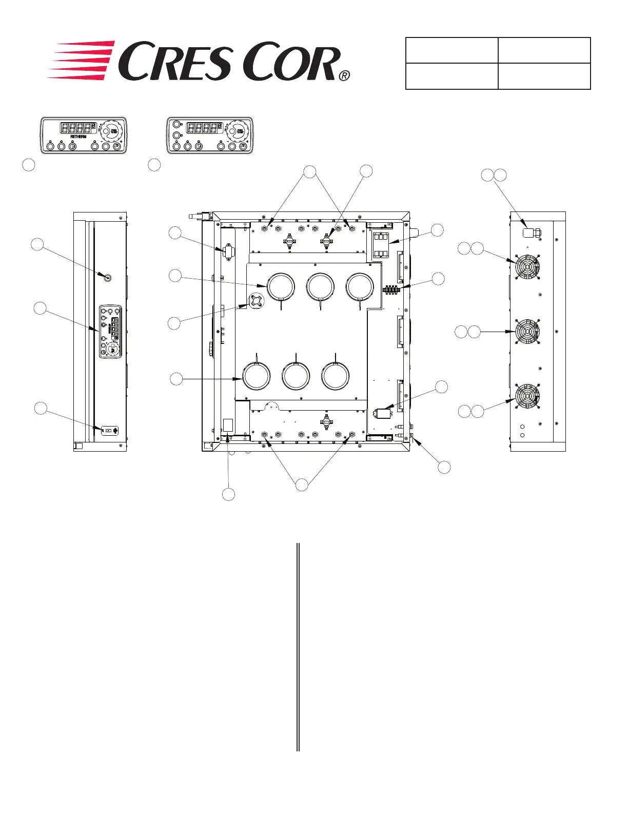
1. Switch (On/Off) 0808-125 14. Power Cord Kits:
2A. “DE” Retherm Control 0848-092-20-K 208/240V, 3 Ph 0810-178-K
2B. “DX” Retherm Control
0848-092-03-K
208/240V, 1 Ph 0810-161
Sensor
0848-091-K
480V, 3 Ph 0810-180-K
3. Blower Switch 0808-114 16. Strain Relief Kits:
4. Vent Fan 0769-174 208/240V, 3 Ph 0818-103-K
5. Fan Guard 0769-167 208/240V, 1 Ph 0818-061
6. Fuse
0807-155
480V, 3 Ph 0818-102-K
Fuse Holder
0807-150
17. Heater Kits:
Fuse (480V)
0807-058
2000W, 208V, 3 Ph 0811-300-K
Fuse Holder (480V)
0807-048
2000W, 240V, 3 Ph 0811-301-K
7. Blower Kit 0769-186-K 2000W, 480V, 3 Ph 0811-302-K
8. Contactor 0857-026 1325W, 208V, 1 Ph 0811-306-K
9. Terminal Block, rear 0852-093 1325W, 240V, 1 Ph 0811-305-K
10. Hi Limit Switch 0848-077 18. Alarm Assy 0908-009-01
11. Transformer 0769-197
FOR “DX” OVENS ONLY:
12. Relay 0857-102 Connector, Probe (not shown) 0848-094
13. Fan Switch 0848-034 Food Probe 1.5” Long 0848-098
Food Probe 6” Long 0848-100
Electrical Replacement Parts:
10
TOP VIEW
WITHOUT COVER
REAR VIEWFRONT VIEW
1
2B
3
4
4
4
5
5
5
6
7
7
8
9
11
12
13
14
17
17
16
FL-2357
TOP, FRONT. REAR
18
2A
“DE” RETHERM CONTROL
2B
“DX” RETHERM CONTROL
REPLACEMENT PARTS
Include all information on nameplate
when ordering parts
Bekijk gratis de handleiding van Cres Cor RO151F1332DX, stel vragen en lees de antwoorden op veelvoorkomende problemen, of gebruik onze assistent om sneller informatie in de handleiding te vinden of uitleg te krijgen over specifieke functies.
Productinformatie
Merk | Cres Cor |
Model | RO151F1332DX |
Categorie | Oven |
Taal | Nederlands |
Grootte | 3793 MB |