Handleiding
Je bekijkt pagina 25 van 36

INSTRUCTION
MANUAL
25
Using the Gas Hob
Each hob burner is regulated by a selector knob.
The control allows for the efficient transfer of heat to the cooking pan.
The knob can be turned in both directions, to numbers 1 to 6.
These numbers correspond to the power of each burner where 6 is the highest setting and 1 is the lowest.
Turn the hob control knob to off (l) when finished.
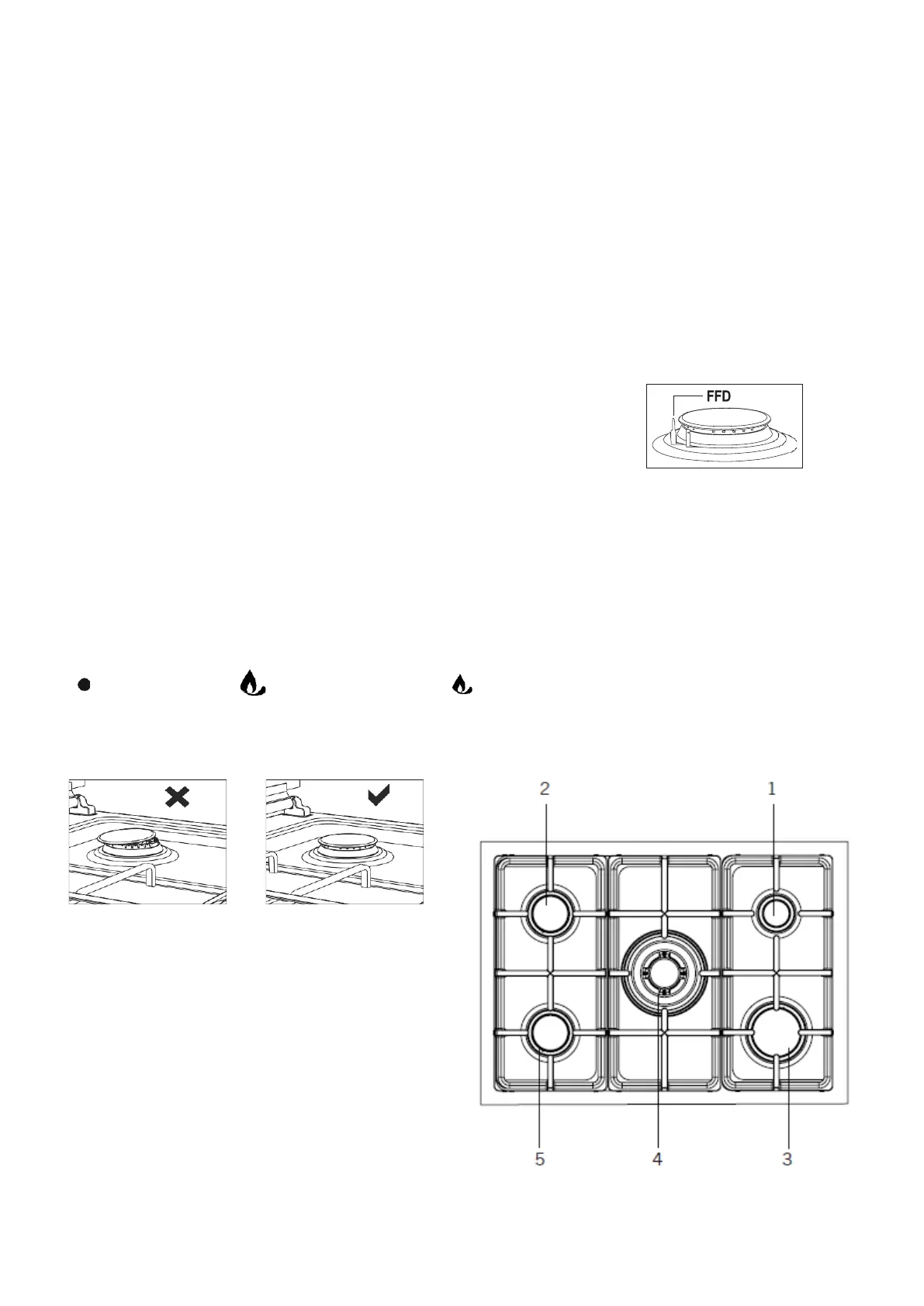
Flame cut-off safety device (FFD)
This operates instantly when safety mechanism activates due to overflown liquid
over upper hobs.
1.
The valves controlling the gas burners have the above mentioned flame failure device. When flame of the
cooker is extinguished, control valve cuts off the gas automatically. To light the burners, press the control knob
inwards and rotate anti-clockwise towards the flame symbol. keep the control knob pressed in for approximately
5-10 seconds or until the flame stays lit continuously.
2.
Do not continuously operate the igniter for more than 15 seconds. If the burner does not ignite, wait minimum
one minute before try again.
3.
If the burner is extinguished for any reason, close the gas control valve and wait a minimum of one minute
before trying again.
Closed
Fully open Half open
4.
Before operating your hob, please make sure that the burner caps are well positioned. The right placement of
the burner caps is shown as below.
1. Auxiliary
2. Normal Burner
3. Rapid Burner
4. Wok Burner
5. Normal Burner
Bekijk gratis de handleiding van Creda C90RCDFTS, stel vragen en lees de antwoorden op veelvoorkomende problemen, of gebruik onze assistent om sneller informatie in de handleiding te vinden of uitleg te krijgen over specifieke functies.
Productinformatie
Merk | Creda |
Model | C90RCDFTS |
Categorie | Fornuis |
Taal | Nederlands |
Grootte | 5516 MB |