Chapin 8400C handleiding
Handleiding
Je bekijkt pagina 15 van 20

11.3
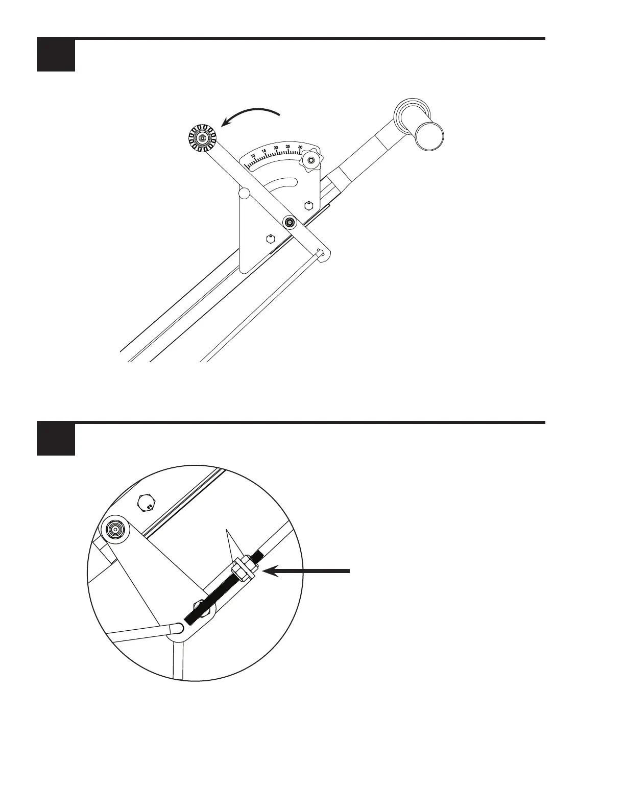
With the rotary gate closed and the gate
control arm in the closed position, tighten the
Hex nuts to the bracket as shown.
Con la compuerta rotatoria cerrada y el
brazo de control de la compuerta en posición
cerrada, apriete las tuercas hexagonales al
soporte como se muestra.
Alors que la vanne rotative est fermée et que
le contrôle de la vanne est en position fermée,
serrer les écrous hexagonaux sur le support,
comme il est montré.
Hex Nut
11.2
Set gate control (C-9) in forward
position as shown.
Fije el control de la compuerta
(C-9) en posición delantera como
se muestra.
Régler le contrôle de la vanne
(C-9) en position vers l’avant,
comme il est montré.
C-9
14
Bekijk gratis de handleiding van Chapin 8400C, stel vragen en lees de antwoorden op veelvoorkomende problemen, of gebruik onze assistent om sneller informatie in de handleiding te vinden of uitleg te krijgen over specifieke functies.
Productinformatie
Merk | Chapin |
Model | 8400C |
Categorie | Niet gecategoriseerd |
Taal | Nederlands |
Grootte | 2808 MB |