Candy CIP 3E53E0W handleiding
Handleiding
Je bekijkt pagina 28 van 132

28
13. DESCRIPCIÓN DEL
PANEL DE CONTROL
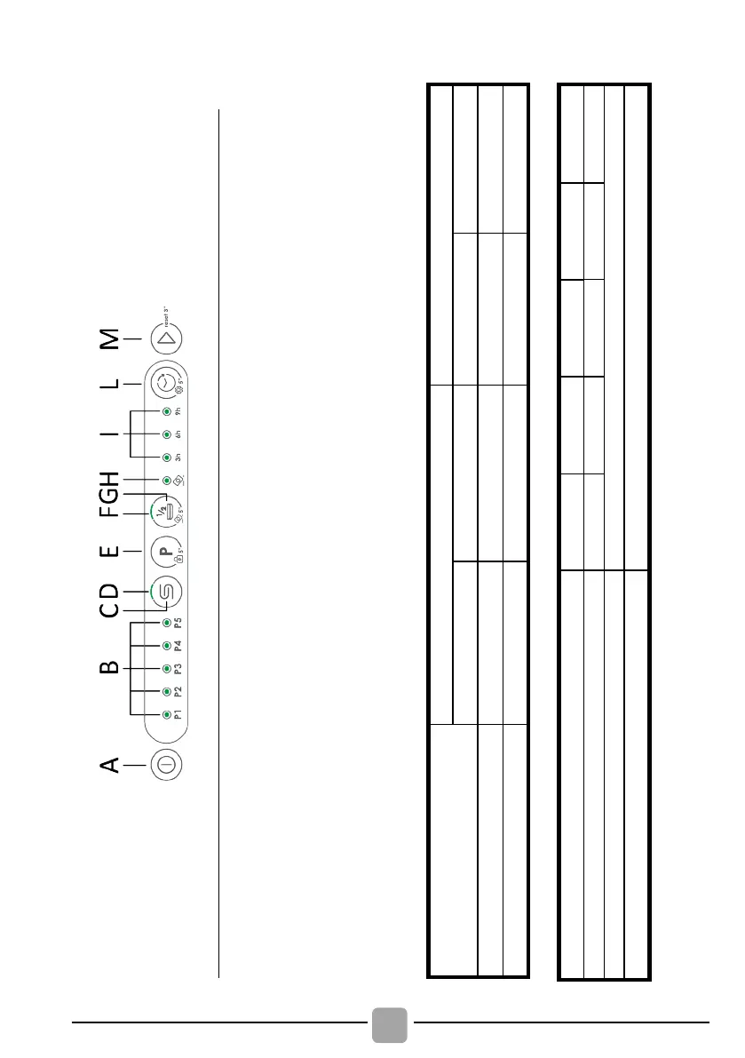
G
Botón MEDIA CARGA/PASTILLAS
H
Pilotos PASTILLAS
I
Pilotos INICIO DIFERIDO
L
Botón INICIO DIFERIDO/AJUSTES
M
Botón INICIAR/RESTABLECER
A
Botón de ENCENDER/APAGAR
B
Luz de SELECCIÓN DE PROGRAMA
C
Botón "Reset" para el piloto "FIN SAL"
D
Piloto "SAL VACÍO"
E
Botón SELECCIÓN DE PROGRAMA/PROTECCIÓN NIÑOS
F
Piloto MEDIA CARGA
14. DATOS TÉCNICOS
DATOS TÉCNICOS (ver placa de datos eléctricos)
16
9 personas
Min. 0,08 – Max. 1
Ver placa de datos eléctricos
15
9 personas
14
9 personas
13
8 personas
12
8 personas
Cubiertos (EN 50242)
Capacidad con ollas y platos
Presión de suministro de agua (MPa)
Fusible / Entrada de potencia / Tensión de alimentación
TAMAÑO
ENCASTRADO
ENCASTRADO
59,8x81,8 ÷ 89,8x55
117
MEDIO-
ENCASTRADO
59,8x81,8 ÷ 89,8x57
117
INDEPENDIENTE
SIN ENCIMERA
59,8x82x58
117
CON ENCIMERA
60x85x60.9
120
DATOS
Ancho x Alto x Fondo (cm)
Fondo con puerta abierta (cm)
Bekijk gratis de handleiding van Candy CIP 3E53E0W, stel vragen en lees de antwoorden op veelvoorkomende problemen, of gebruik onze assistent om sneller informatie in de handleiding te vinden of uitleg te krijgen over specifieke functies.
Productinformatie
Merk | Candy |
Model | CIP 3E53E0W |
Categorie | Vaatwasser |
Taal | Nederlands |
Grootte | 17793 MB |