Candy CH 3C4F0S handleiding
Handleiding
Je bekijkt pagina 13 van 162

ES
Instrucciones de instalación
12
5
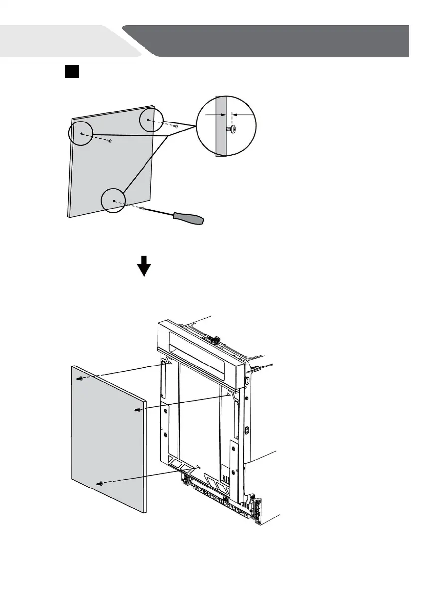
Preparación del panel de puerta personalizado
1
Introduzca tornillos de
Ø
3,9 x 13
mm a través
de los agujeros piloto y
fije el soporte
deslizante pequeño al
panel.
2
Cierre la puerta del
lavavajillas y luego
cuelgue el panel
personalizado en la
parte frontal de la
puerta.
3 mm
Bekijk gratis de handleiding van Candy CH 3C4F0S, stel vragen en lees de antwoorden op veelvoorkomende problemen, of gebruik onze assistent om sneller informatie in de handleiding te vinden of uitleg te krijgen over specifieke functies.
Productinformatie
Merk | Candy |
Model | CH 3C4F0S |
Categorie | Vaatwasser |
Taal | Nederlands |
Grootte | 23444 MB |