Candy CDG9CBP8B handleiding
Handleiding
Je bekijkt pagina 144 van 500

3
Connessione diretta
L'apparecchio deve essere collegato direttamente alla rete
mediante un interruttore onnipolare con un'apertura minima di 3 mm
tra i contatti.
L'installatore deve assicurarsi che sia presente il collegamento
elettrico corretto stato realizzato e conforme allo schema elettrico.
Il cavo non deve essere piegato o compresso.
Controllare regolarmente che la spina e il cavo di alimentazione non
siano danneggiati.
Se il cavo di alimentazione è danneggiato, deve essere sostituito da
un cavo speciale o assemblaggio disponibile dal produttore o dal
suo agente di servizio.
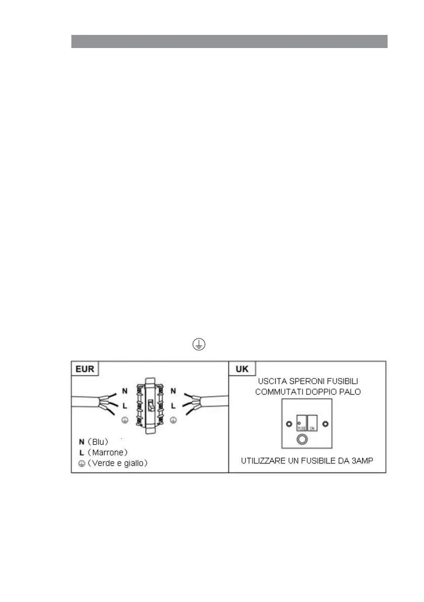
AVVERTIMENTO: Questo è un apparecchio di classe I e DEVE
essere collegato a terra
Questo apparecchio viene fornito con un cavo di alimentazione a 3
conduttori colorato come segue:
Marrone = L o Vivere
Blu = N o Neutro
Verde e giallo = E o Terra
Il fusibile deve essere valutato a 3 Ampere.
Installazione elettrica
Tutta l'installazione deve essere eseguita da una persona
competente o qualificata elettricista. Prima di collegare la rete
elettrica assicurarsi che la rete elettrica la tensione corrisponde
alla tensione sulla targhetta dei dati tecnici.
142
Bekijk gratis de handleiding van Candy CDG9CBP8B, stel vragen en lees de antwoorden op veelvoorkomende problemen, of gebruik onze assistent om sneller informatie in de handleiding te vinden of uitleg te krijgen over specifieke functies.
Productinformatie
| Merk | Candy |
| Model | CDG9CBP8B |
| Categorie | Stofzuiger |
| Taal | Nederlands |
| Grootte | 56890 MB |