Calorex Delta handleiding
Handleiding
Je bekijkt pagina 49 van 84

49
SD675650 ISSUE 6 M172 DELTA
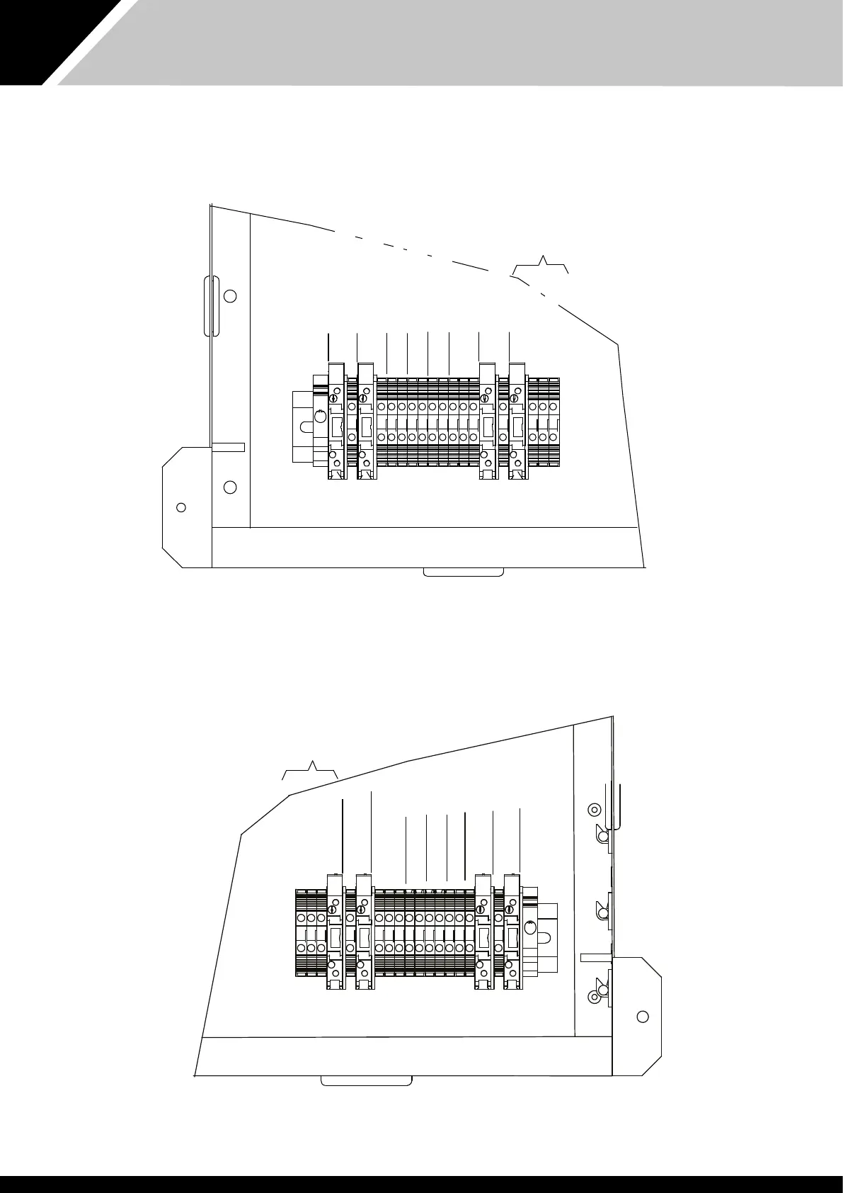
3.8 VOLT FREE TERMINALS AND REMOTE ACCESS
Terminals 6 to 24
98
6
7 10 11 12 13
Boiler go (volt free)
500mA maximum load
Pool pump run (volt free)
500mA maximum load
Time clock override (24V DC)
Remote on/off (24V DC)
remove link if used
Bottom rail
14
15
230V Input for fire alarm
remove link if used
Common
Machine on
Fault
Remote damper
max load 150mA
19 20 21
23 2422
Volt free terminals
Total maximum load 0.5 Amps
Air filter blocked
Boiler go (volt free)
500mA maximum load
Pool pump run (volt free)
500mA maximum load
Time clock override (24V DC)
Remote on/off (24V DC)
remove link if used
230V Input for fire alarm
remove link if used
Common
Machine on
Fault
Remote damper
max load 150mA
Volt free terminals
Total maximum load 0.5 Amps
Air filter blocked
Terminals 6 to 24
9 8 67101112131415
19
20
21
2324 22
“EF” CONFIGURATION
“ER” CONFIGURATION
Bekijk gratis de handleiding van Calorex Delta, stel vragen en lees de antwoorden op veelvoorkomende problemen, of gebruik onze assistent om sneller informatie in de handleiding te vinden of uitleg te krijgen over specifieke functies.
Productinformatie
| Merk | Calorex |
| Model | Delta |
| Categorie | Niet gecategoriseerd |
| Taal | Nederlands |
| Grootte | 13120 MB |







