Handleiding
Je bekijkt pagina 28 van 36

28
1. INSTALACIÓN DE LAS TUBERÍAS Y DEL CABLEADO ELÉCTRICO
Planifique el lugar y la forma en que instalará las tuberías.
Un tubo recto y corto permitirá que la campana funcione
más eficazmente.
Instale tubos, codos y capuchones para tejado de los
tamaños adecuados. Conecte la tubería metálica al
capuchón y vaya retrocediendo hasta el lugar donde
instalará la campana. Utilice cinta metálica de 2” para
sellar las juntas.
Lleve un cable de alimentación de tres hilos hasta el lugar
de la instalación.
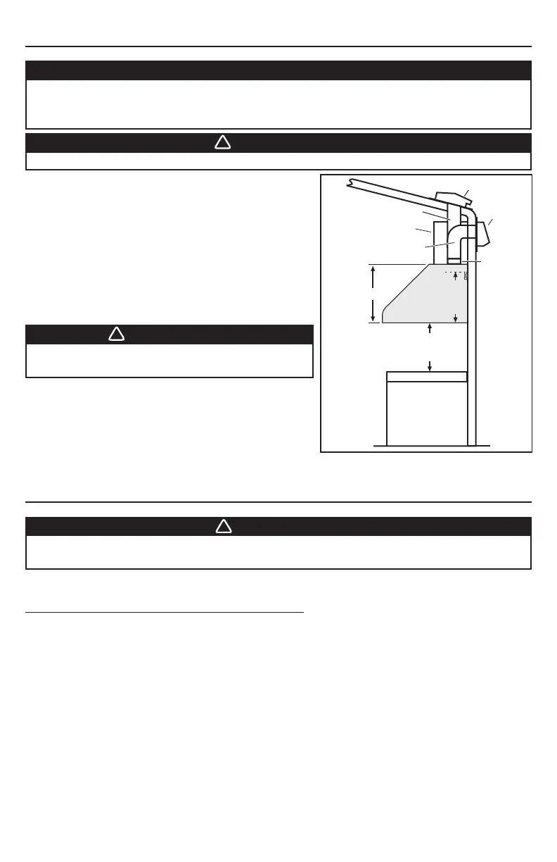
Para que la campana capte bien las impurezas que
se desprenden al cocinar, la distancia mínima entre
la campana y la superficie de la cocina no debe ser
inferior a 36 pulgadas.
18"
16"
HASTA
LA
PA RT E SUPERIOR
DE LA REGLETA
DE MONTAJE DE MADERA
CHEMINEA DECORATIVA
OPCIONAL
O INTRÁDOS
HH0182E
TUBO REDONDO DE 10"
CODO REDONDO DE 10"
ADAPTADOR
REDONDO
DE 10"
CAPUCHÓN
MURAL
CAPUCHÓN DE TECHO
DISTANCIA MÍNIMA DE
36” SOBRE EL NIVEL DE
LA
SUPERFICIE PARA COCINA
PRECAUCIÓN
Esta campana está prevista para patios o terrazas exteriores cubiertos. Como ocurre
con todos los aparatos eléctricos, se debe proteger esta campana todo lo posible
de la intemperie.
ADVERTENCIA
!
Esta campana no está pensada para usar con una parrilla de carbón.
ADVERTENCIA
!
El cable de alimentación debe ser un circuito
de derivación protegido con un disyuntor.
2. PREPARACIÓN DE LA INSTALACIÓN
NOTA: Antes de comenzar la instalación, verificar el contenido de la caja. Si alguna pieza falta o está
dañada, póngase en contacto con el fabricante.
Verifique que la caja contenga los siguientes elementos:
- Campana
- Regleta de madera (en la parte trasera de la campana)
- Manual de instalación
- Accesorios:
• Filtros con manijas: 3 para el modelo de 36” de ancho, 4 para los modelos de 42” y de 48” de
ancho y 5 para el modelo de 60” de ancho
• Adaptador redondo de 10” (dentro de la campana)
• Bolsa con piezas: 3 conectores impermeables de hilos, 2 tornillos n.° 8 x 5/8’’, 6 tornillos de cabeza
hexagonal n.° 10 x 2’’, 4 tornillos de cabeza plana n.° 10 x 2”, 2 sujeciones
murales, 2 arandelas 3/16’’ DI x 3/4’’ DE
La bolsa debería incluir también las siguientes piezas que no deben usarse
(deséchelas): 2 abrazaderas de hilos LP16-AP, 2 tornillos n.° 8 x 3/8’’ revestidos
de zinc, 8 tornillos de acero inoxidable n.° 8 x 3/8”, 4 tuercas de acero inoxidable
10-32, 4 arandelas 3/16’’ DI x 3/4’’ DE
ADVERTENCIA
!
Se aconseja llevar anteojos y guantes de seguridad al instalar, reparar o limpiar la
campana.
Bekijk gratis de handleiding van Broan Elite EPD6142SS, stel vragen en lees de antwoorden op veelvoorkomende problemen, of gebruik onze assistent om sneller informatie in de handleiding te vinden of uitleg te krijgen over specifieke functies.
Productinformatie
| Merk | Broan |
| Model | Elite EPD6142SS |
| Categorie | Afzuigkap |
| Taal | Nederlands |
| Grootte | 4887 MB |







