Handleiding
Je bekijkt pagina 86 van 117

20
UŽIVATELSKÉ ROZHRANÍ
Používání ovládacího panelu
1.0 Úvod do uživatelského rozhraní
1.1 Provozní rozhraní
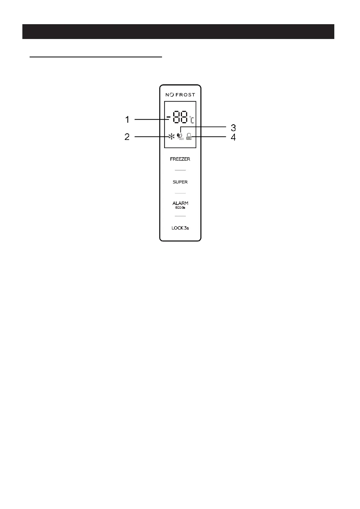
FREEZER
: Regulace teploty spotřebiče
SUPER
: Volba a zrušení volby ovládání režimu SUPER
ALARM/ECO
: Vymazání alarmu otevřených dvířek, volba a zrušení volby režimu ECO
LOCK
: Uzamčení a odemčení
1.2 LED displej
1.
Displej pro přednastavenou teplotu
2.
Ikona režimu SUPER
3.
Ikona režimu ECO
4.
Ikona uzamčení a odemčení
2.0
Zobrazení
tlačítek
Všechna tlačítka jsou platná pouze ve stavu odemčení. Krátké pípnutí zazní po stisku
tlačítek.
2.1
FREEZER
: Ovládání
teploty
spotřebiče
je
k
dispozici
pouze
pro
režim
definovaný
uživatelem.
Postupným mačkáním tlačítka „FREEZER“ se teplota bude měnit v kruhu od -14 °C~ - 22
°C, přestat se tlačítka dotýkat a po 5 sekundách blikání je teplota nastavena.
Bekijk gratis de handleiding van Brandt BFU862YNA, stel vragen en lees de antwoorden op veelvoorkomende problemen, of gebruik onze assistent om sneller informatie in de handleiding te vinden of uitleg te krijgen over specifieke functies.
Productinformatie
| Merk | Brandt |
| Model | BFU862YNA |
| Categorie | Koelkast |
| Taal | Nederlands |
| Grootte | 17045 MB |







