Brandt BCF422DQX handleiding
Handleiding
Je bekijkt pagina 23 van 113

Step 2. Aesthetic panel's dimensions and installation
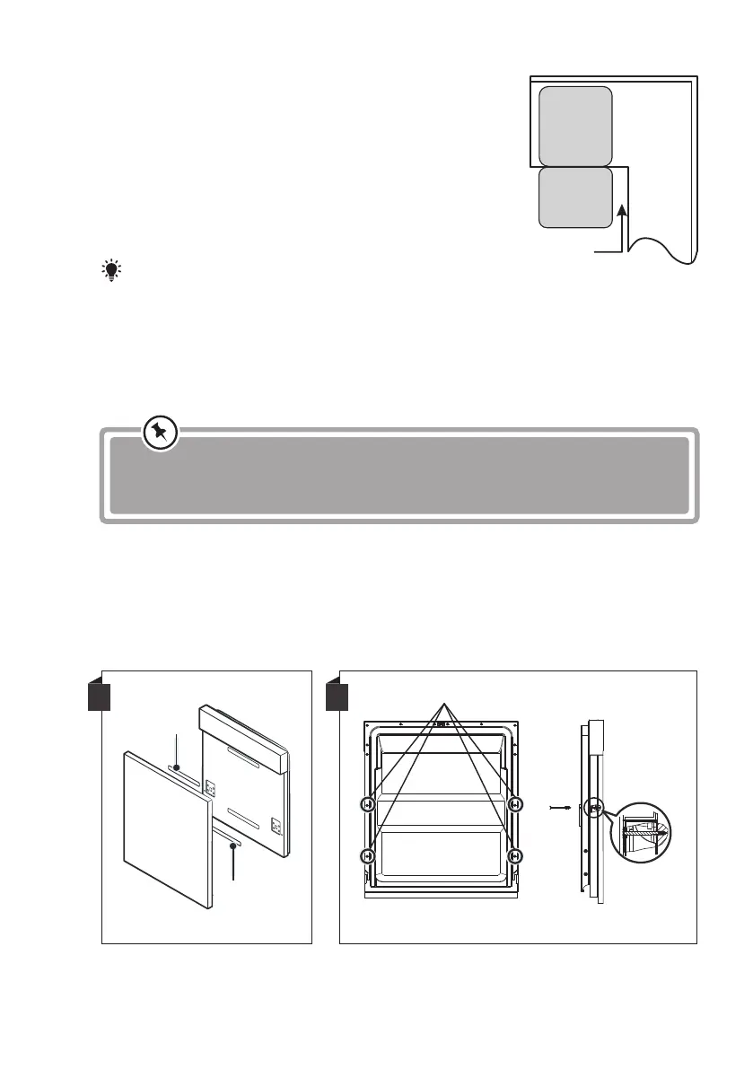
2. If dishwasher is in stalled at the corner of the cabinet,
there should be some space when the door is opened.
CabinetDishwasher
Door of
dishwasher
Minimum space
of 50mm
NOTE:
Depending on where your electrical outlet is, you may need to cut a hole in the
opposite cabinet side.
22
The aesthetic wooden panel could be processed according to the
installation drawings.
The aesthetic wooden panel could be processed according to the
installation drawings.
A
Magical paster
Magical paster
Magical paster A and magical paster B be disjoinedon ,magical paster A on the
aesthetic wooden panel and felted magical paster B of the outer door of dishwasher
(see figure A). After positioning of the panel , fix the panel onto the outer door by
screws and bolts (See figure B) .
Semi-integrated model
B
2.Pin up the four long screws
1.Take away the four short screws
Bekijk gratis de handleiding van Brandt BCF422DQX, stel vragen en lees de antwoorden op veelvoorkomende problemen, of gebruik onze assistent om sneller informatie in de handleiding te vinden of uitleg te krijgen over specifieke functies.
Productinformatie
Merk | Brandt |
Model | BCF422DQX |
Categorie | Vaatwasser |
Taal | Nederlands |
Grootte | 11563 MB |