Brandson 307246 handleiding

56 pagina's
PDF beschikbaar

Handleiding

Je bekijkt pagina 12 van 56
Deutsch
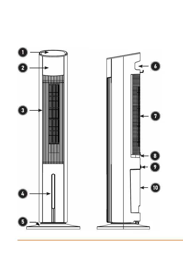
3. Produkt-Details

Bekijk gratis de handleiding van Brandson 307246, stel vragen en lees de antwoorden op veelvoorkomende problemen, of gebruik onze assistent om sneller informatie in de handleiding te vinden of uitleg te krijgen over specifieke functies.

Productinformatie

MerkBrandson
Model307246
CategorieAirco
TaalNederlands
Grootte5084 MB