Handleiding
Je bekijkt pagina 15 van 151

15
Das Gerät ist mit einem Grobstaubfilter (bereits
im Gerät installiert) ausgestattet und wird mit
einem 2-fach-Spezialfilter mit Aktivkohle zum
Einbau durch den Benutzer geliefert; hierzu siehe
“Einbau Luftfilter”. Beide Systeme verhindern
das Auftreten folgender Begleiterscheinungen:
- Gerüche und Rauch.
- Blüten- und Hausstaub sowie Bakterien wirken.
❏ Stecken Sie den Netzstecker in die Steckdose.
❏ Richten Sie den Abluftschlauch so aus wie in
Abschnitt „Möglichkeiten der Wa r m l u f t a b f u h r “
b e s c h r i e b e n .
❏ Wählen Sie die Betriebsart "Luftreinigung"
aus (siehe Abschnitt "Aufwärts"- und "Abwärts"-
Tasten und Tasten "+" und "–").
❏ Stellen Sie die gewünschte
Lüftergeschwindigkeit ein, siehe A b s c h n i t t
" Wahl der Lüftergeschwindigkeit". Bitte
beachten Sie, dass in dieser Betriebsart nur die
manuellen Lüftergeschwindigkeiten gewählt
werden können.
A c h t u n g !
Wir empfehlen, unabhängig von der
gewählten Betriebsart (Klimatisierung,
Entfeuchtung, Raumluftreinigung) die Filter
nicht auszubauen. Damit ist eine bessere
Reinigungswirkung gewährleistet.
Te m p e r a t u r w a h l
Positionieren Sie das Auswahlkästchen über dem
Feld "Temperaturwahl" (siehe A b s c h n i t t
"Aufwärts"- und "Abwärts"-Tasten). Jetzt können
Sie mit den Tasten "+" bzw. "–" die gewünschte
Temperatur einstellen (siehe Abschnitt Tasten "+"
und "–").
Befindet sich das Auswahlkästchen auf dem
Temperaturfeld, wird die Temperatur mit der "+" -
Taste erhöht, mit der "–" - Taste wird die
Temperatur verringert.
Die Temperatur kann aus dem Bereich zwischen
18°C und 30°C in Schritten von 1°C frei
vorgewählt werden. Wenn Sie die Taste gedrückt
halten, schaltet die Temperaturanzeige schneller
u m .
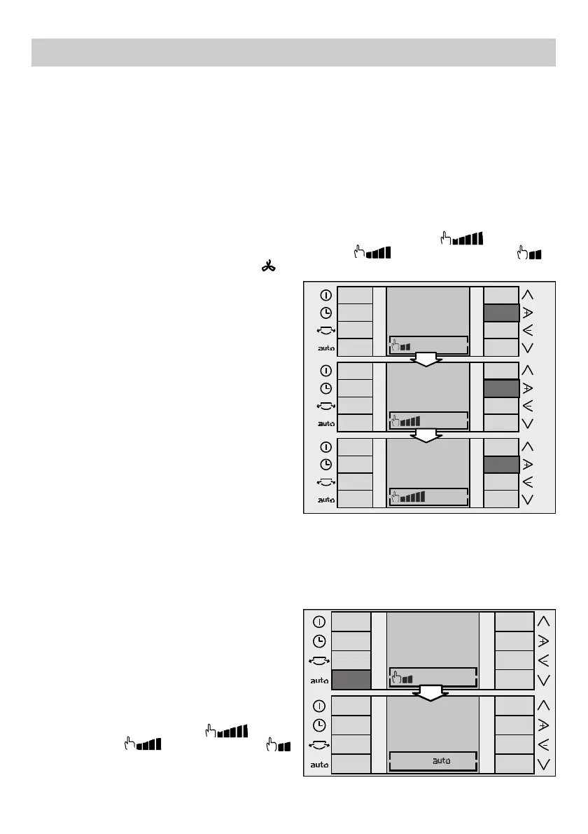
Wahl der Lüftergeschwindigkeit
Das Gerät bietet Ihnen vier
Leistungsvorwahloptionen: drei Leistungsstufen
im Handbetrieb Maximalleistung ,
mittlere Leistung und Flüsterbetrieb
sowie eine Automatikoption auto. In der A u t o -
Funktion
schaltet das Gerät, je nach Raumbedingungen
und eingestellter Te m p e r a t u r, selbsttätig zwischen
hoher und leiser Lüftergeschwindigkeit um.
Manuelle Lüftergeschwindigkeiten
Positionieren Sie das Auswahlkästchen über dem
Menüpunkt "Wahl der Lüftergeschwindigkeit"
(siehe Abschnitt "Aufwärts"- und "Abwärts"-
Tasten). Im Display werden das Symbol für
denmanuellen Betrieb und die beim letzten Mal
eingestellte Lüftergeschwindigkeit angezeigt.
Mit den Tasten "+"/"-" können Sie nun
zwischen Höchstleistung , mittlere
Leistung und auf Flüsterbetrieb
auswählen.
Bedienung des Gerätes
Auto-Funktion
Um die Auto-Funktion zu aktivieren, drücken
Sie einfach die "Auto"-Taste auf dem
Bedienfeld. Das Symbol für manuellen Betrieb
erlischt und im Display wird das Symbol für die
Auto-Funktion angezeigt.
Bekijk gratis de handleiding van Bosch PAM0720, stel vragen en lees de antwoorden op veelvoorkomende problemen, of gebruik onze assistent om sneller informatie in de handleiding te vinden of uitleg te krijgen over specifieke functies.
Productinformatie
| Merk | Bosch |
| Model | PAM0720 |
| Categorie | Airco |
| Taal | Nederlands |
| Grootte | 18563 MB |
Caratteristiche Prodotto
| Kleur van het product | Zwart, zilver |
| Gewicht | 37000 g |
| Breedte | 480 mm |
| Diepte | 400 mm |
| Hoogte | 865 mm |







