Handleiding
Je bekijkt pagina 7 van 80

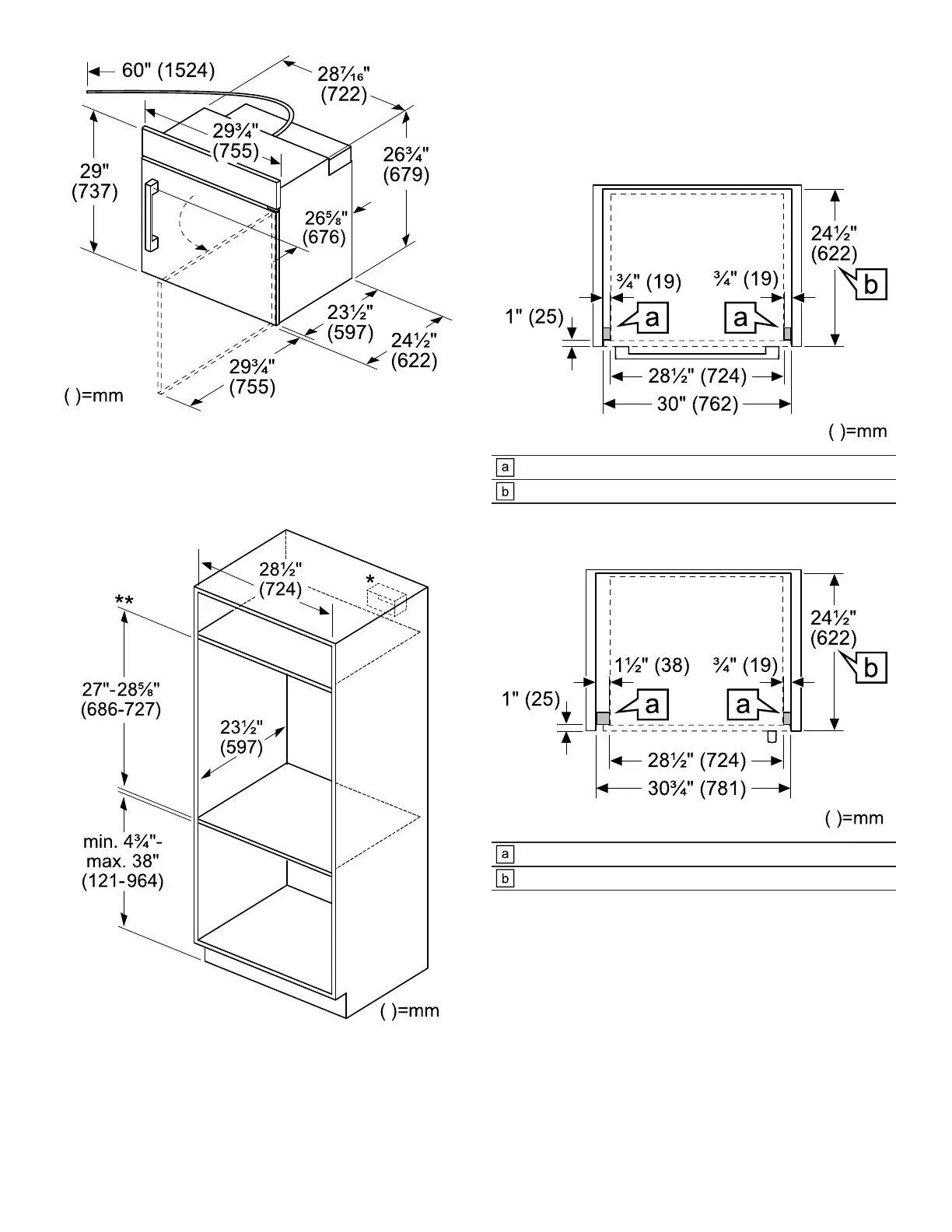
30" Single oven dimensions en-us
7
Allow ¾" (19mm) gap to nearest cabinet front for door
swing.
5.2 30" Single oven traditional installation
*The junction box may be located above, beneath, left or
right of the unit within reach of the flexible conduit.
**Control panel overlap: min. 3/8" (10mm) to max.
2" (51mm).
5.3 30" Single oven flush mount installation
Flush installation requires two side cleats to be attached
inside the cabinet frame, recessed from the front.
Top view bottom hinged door
Reveal cleats
Flush inset depth
Top view left swing door
Reveal cleats
Flush inset depth
Bekijk gratis de handleiding van Bosch HBLP651LSS, stel vragen en lees de antwoorden op veelvoorkomende problemen, of gebruik onze assistent om sneller informatie in de handleiding te vinden of uitleg te krijgen over specifieke functies.
Productinformatie
Merk | Bosch |
Model | HBLP651LSS |
Categorie | Oven |
Taal | Nederlands |
Grootte | 9872 MB |