Blumfeldt Aruba handleiding

36 pagina's
PDF beschikbaar

Handleiding

Je bekijkt pagina 32 van 36
32
IT
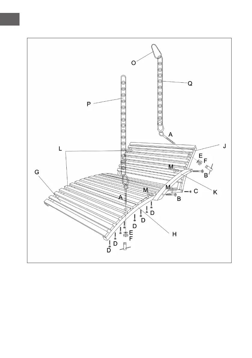
Montaggio della supercie di seduta

Bekijk gratis de handleiding van Blumfeldt Aruba, stel vragen en lees de antwoorden op veelvoorkomende problemen, of gebruik onze assistent om sneller informatie in de handleiding te vinden of uitleg te krijgen over specifieke functies.

Productinformatie

MerkBlumfeldt
ModelAruba
CategorieNiet gecategoriseerd
TaalNederlands
Grootte4605 MB