Handleiding
Je bekijkt pagina 21 van 44

EN / 21
When the temperature inside the
oven reaches the set temperature,
the symbol disappears.
5. After the set cooking time is completed,
on the display, "End" appears, the
symbol flashes and the timer beeps.
6. The warning sounds for two minutes.
Press any key to stop the warning. The
warning stops and the time of day ap-
pears on the display.
If any key is pushed at the end of
the audible warning, the oven will
start operating again. To prevent
the oven from operating again at
the end of the warning, turn off the
oven by turning the temperature
knob and function knob to the “0”
(off) position.
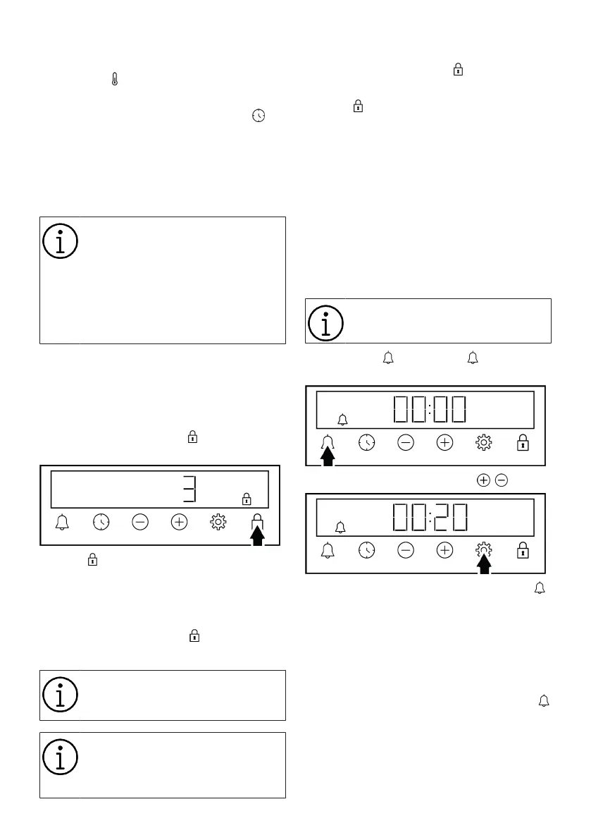
5.3 Settings
Activating the key lock
By using the key lock feature, you can safe-
guard the timer from interference.
1. Touch the key until the symbol ap-
pears on the display.
ð The symbol is shown on the display
and the 3-2-1 count down starts. The
key lock activates when the countdown
ends. When any key is touched after
the key lock is set, the timer sounds an
audible signal and the symbol
flashes.
If you release the key before the
end of the countdown, the key lock
does not activate.
Timer keys cannot be used when
the key lock is on. The key lock will
not be cancelled in case of power
failure.
Deactivating the key lock
1. Touch the key until the symbol disap-
pears from the display.
ð The symbol disappears from the dis-
play and the key lock is disabled.
Setting the alarm
You can also use the timer of the product
for any warning or reminder other than bak-
ing. The alarm clock has no effect on the
oven operating functions. It is used for
warning purposes. For example, you can
use the alarm clock when you want to turn
the food in the oven at a certain time. As
soon as the time you set has expired, the
timer gives you an audible warning.
The maximum alarm time may be
23 hours 59 minutes.
1. Touch the until the key symbol ap-
pears on the display.
2. Set the alarm time with the / keys.
ð After setting the alarm time, the
symbol remains lit and the alarm
time starts to countdown on the
display. If the alarm time and bak-
ing time are set at the same time,
the shorter time is shown on the
display.
3. After the alarm time is completed, the
symbol starts flashing and gives you an
audible warning.
Bekijk gratis de handleiding van Blomberg ROEN9222, stel vragen en lees de antwoorden op veelvoorkomende problemen, of gebruik onze assistent om sneller informatie in de handleiding te vinden of uitleg te krijgen over specifieke functies.
Productinformatie
Merk | Blomberg |
Model | ROEN9222 |
Categorie | Oven |
Taal | Nederlands |
Grootte | 5177 MB |