Handleiding
Je bekijkt pagina 8 van 51

ASSEMBLY INSTRUCTIONS
8
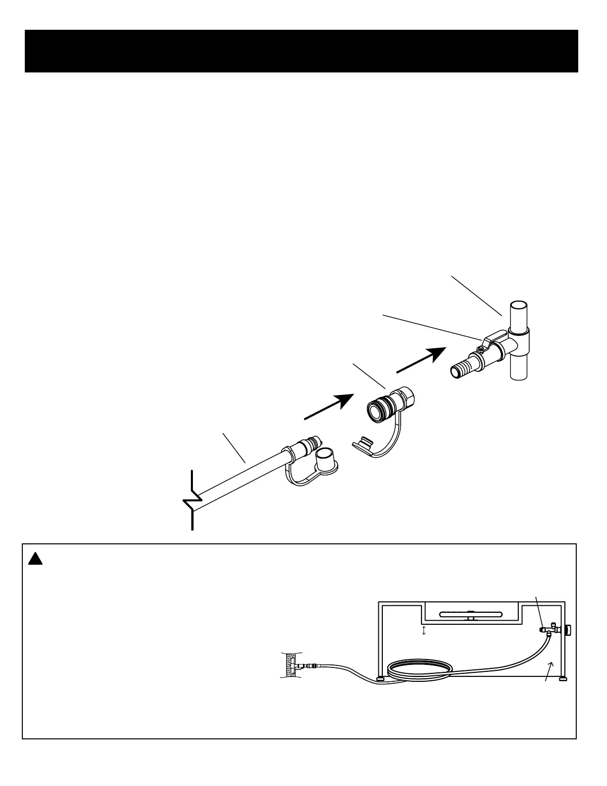
2. Connect the fireplace to the natural gas source:
A professionally installed shut-o valve between the supply piping and the socket is
recommended by the National Fuel Gas Code, and must be used for the fireplace. A
professional gas technician or plumber must make sure that your gas system is capable of
providing the correct amount of gas at the correct pressure for your fireplace to operate
safely and correctly.
The quick connect socket connection must be made outdoors. The diagram below shows the
main components of a standard natural gas connection.
If the socket connection is below the fireplace, no part of the hose may contact the side
panels or base panel of the burner area when the fireplace is in its normal operating position.
Natural Gas Source
Quick Connect Socket
Natural Gas Hose
To Fireplace
Shut-o Valve
!
If the table is installed with a portion of the
hose under the table, the hose must be
secured, so that no part of the hose will be
within 1” or come in contact with the
underside of the burn pan or where the hose
will not be accidentally damaged or pinched.
Failure to secure the hose in a safe location
may result in a gas leak that could cause
property damage, injury, or death. Follow
all other hose inspection instructions
listed in this manual.
WARNING
Coil near a corner that is
adjacent from the valve.
Valve
Do not coil the hose
beneath the valve.
1”
The hose should not come within 1”
from the bottom of the burn pan.
Emergency
shut-o valve
Bekijk gratis de handleiding van Blaze BLZ-60-FTABLE-NG, stel vragen en lees de antwoorden op veelvoorkomende problemen, of gebruik onze assistent om sneller informatie in de handleiding te vinden of uitleg te krijgen over specifieke functies.
Productinformatie
| Merk | Blaze |
| Model | BLZ-60-FTABLE-NG |
| Categorie | Fornuis |
| Taal | Nederlands |
| Grootte | 4544 MB |

