Handleiding
Je bekijkt pagina 42 van 51

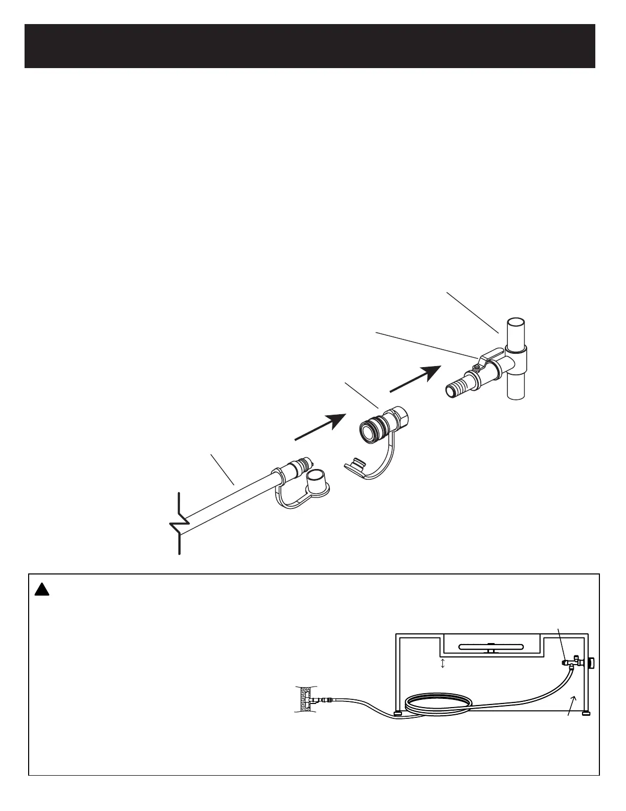
INSTRUCCIONES DE ENSAMBLAJE
8
Fuente de gas natural
Toma de conexión rápida
Manguera de gas natural
Válvula de corte
A la chimenea
2.
Conecte la chimenea a la fuente de gas natural:
El Código Nacional de de Combustible de gas (National Fuel Gas Code), recomienda la
instalación profesional de una válvula de cierre entre la tubería de suministro y la toma y
se debe usar para la chimenea. Un técnico profesional de gas o plomero debe asegurarse
de que su sistema de gas sea capaz de proporcionar la cantidad correcta de gas a la
presión correcta para que su chimenea funcione de forma segura y correcta.
La toma de conexión rápida se debe hacer en exteriores. El diagrama que sigue muestra
los componentes principales de una conexión estándar de gas natural.
Si la toma de la conexión está debajo de la chimenea, ninguna parte de la manguera debe
estar en contacto con los paneles laterales ni con el panel de base o el área del quemador
cuando la chimenea esté en su posición de funcionamiento normal.
!
ADVERTENCIA
Válvula
1”
Válvula de corte
La manguera no debe estar dentro de 1 ”
del fondo de la bandeja de quemado.
Bobina cerca de una esquina
adyacente a la válvula.
No enrolle la manguera
debajo de la válvula.
Si la mesa se instala con una parte de la
manguera debajo la mesa, la manguera debe
estar asegurada, de modo que ninguna parte
de la manguera este dentro de 1” o entre en
contacto con la parte inferior de la bandeja
de combustión o donde la manguera no se
dañe accidentalmente o sea pellizcado.
No asegurar la manguera en un lugar seguro
puede resultar en una fuga de gas que podría
causar daños a la propiedad, lesiones o la muerte.
Seguir todas las demás instrucciones de
inspección de la manguera enumerados en
este manual.
Bekijk gratis de handleiding van Blaze BLZ-60-FTABLE-NG, stel vragen en lees de antwoorden op veelvoorkomende problemen, of gebruik onze assistent om sneller informatie in de handleiding te vinden of uitleg te krijgen over specifieke functies.
Productinformatie
Merk | Blaze |
Model | BLZ-60-FTABLE-NG |
Categorie | Fornuis |
Taal | Nederlands |
Grootte | 4544 MB |