Handleiding
Je bekijkt pagina 25 van 51

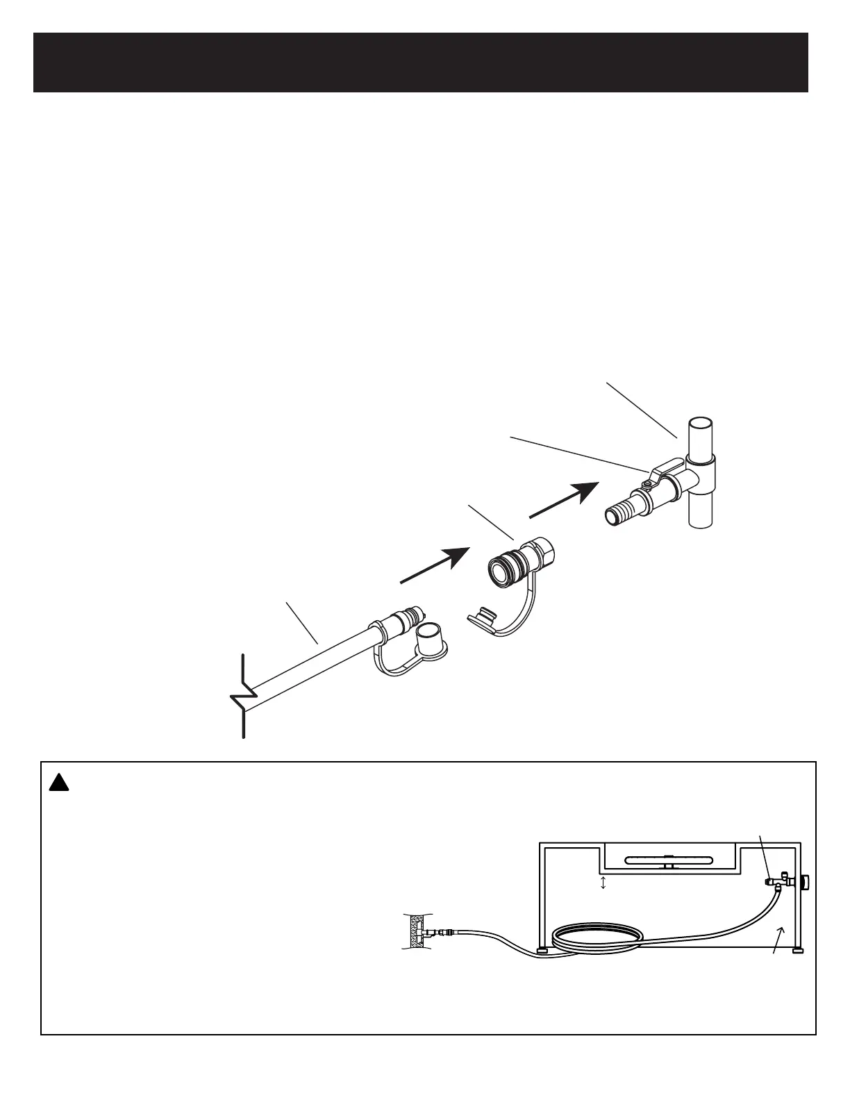
INSTRUCTIONS D’ASSEMBLAGE
Source de gaz naturel
Prise de connexion rapide
Conduite de gaz naturel
Robinet d’arrêt
Au foyer
2.
Brancher le foyer à l’alimentation en gaz naturel:
Une vanne d'arrêt installée par un professionnel entre le tuyau d'alimentation et la prise
est recommandé par le Code national du gaz combustible (National Fuel Gas Code) et
doit être utilisé pour le foyer. Un technicien professionnel en gaz ou un plombier doit
s’assurer que le système de gaz est capable de fournir la bonne quantité de gaz à la
pression adéquate pour que le foyer fonctionne correctement et en toute sécurité.
La connexion de prise rapide doit être faite à l'extérieur. Le schéma ci-dessous montre les
principaux composants d’une connexion standard au gaz naturel.
Si la prise est située sous le foyer, aucune partie du tuyau ne doit entrer en contact avec
les panneaux latéraux ou le panneau de base du brûleur lorsque le foyer est dans sa
position de fonctionnement normale.
8
!
Si la table est installée avec une partie du tuyau
sous la table, le tuyau doit être fixé, de sorte
qu'aucune partie du tuyau ne se trouve à moins
de 1" ou n'entre en contact avec le dessous du
bac de combustion ou positionner-le où il ne
peut-être accidentellement endommagé ou pincé.
Ne pas fixer le tuyau dans un endroit sûr peut
entraîner une fuite de gaz qui pourrait causer
des dommages matériels, des blessures ou
la mort. Suivez toutes les autres instructions
concernant les tuyaux répertoriées dans ce
manuel.
ATTENTION
Soupape
1”
Vanne d’arrêt
Ne pas enrouler le tuyau
sous la valve.
Le tuyau ne doit pas s'approcher à moins
de 1" du bas du bac de combustion
Bobine enroulée dans un coin
adjacent à la vanne
Bekijk gratis de handleiding van Blaze BLZ-60-FTABLE-NG, stel vragen en lees de antwoorden op veelvoorkomende problemen, of gebruik onze assistent om sneller informatie in de handleiding te vinden of uitleg te krijgen over specifieke functies.
Productinformatie
| Merk | Blaze |
| Model | BLZ-60-FTABLE-NG |
| Categorie | Fornuis |
| Taal | Nederlands |
| Grootte | 4544 MB |

