Handleiding
Je bekijkt pagina 10 van 64

9
Smart Slider
Marche / Arrêt
Ta
BANDEAU DE COMMANDE
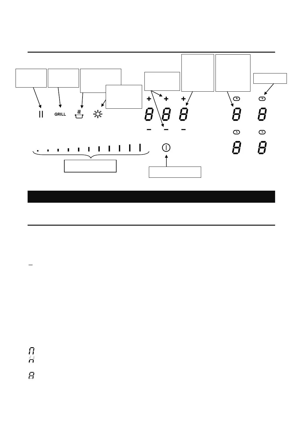
UTILISATION DE LA PLAQUE DE CUISSON
AFFICHAGE
Affichage
Désignation
Description
0
Zéro
La zone de cuisson est activée
1…9
Niveau de puissance
Réglage de la puissance
U
Aucune casserole détectée
Casserole absente ou inadaptée
A
Préchauffage automatique
Puissance maximale + préchauffage
E
Affichage d’erreur
Erreur de l’électronique
H
Chaleur résiduelle
La zone de cuisson est chaude
P
Booster
La puissance booster est activée
U
Fonction de maintien au chaud
Cette fonction est utilisée pour maintenir les
aliments au chaud à 70 °C
II
Pause
La zone de cuisson est en pause
∏
Pont
Deux zones de cuisson peuvent être combinées
pour former une seule zone de cuisson
GRILL
Fonction grill
La fonction grill est activée
Hotte – Fonctionnement manuel
La ventilation se fait en mode manuel
Hotte – Fonctionnement
semi-automatique
La ventilation se fait en mode semi-automatique
Hotte – Fonctionnement
automatique
La ventilation se fait en mode automatique
Fonction
pause
Fonction
grill
Fonction de
maintien au
chaud
Fonction
d’éclairage
de la hotte
Fonction
minuteur
Touche
de
sélection
de
minuteur
Touche
de
sélection
de
puissance
Minuteur
Bekijk gratis de handleiding van Blaupunkt 5IB64212, stel vragen en lees de antwoorden op veelvoorkomende problemen, of gebruik onze assistent om sneller informatie in de handleiding te vinden of uitleg te krijgen over specifieke functies.
Productinformatie
Merk | Blaupunkt |
Model | 5IB64212 |
Categorie | Fornuis |
Taal | Nederlands |
Grootte | 7079 MB |