Bezzera BB005 handleiding

48 pagina's
PDF beschikbaar

Handleiding

Je bekijkt pagina 4 van 48
4
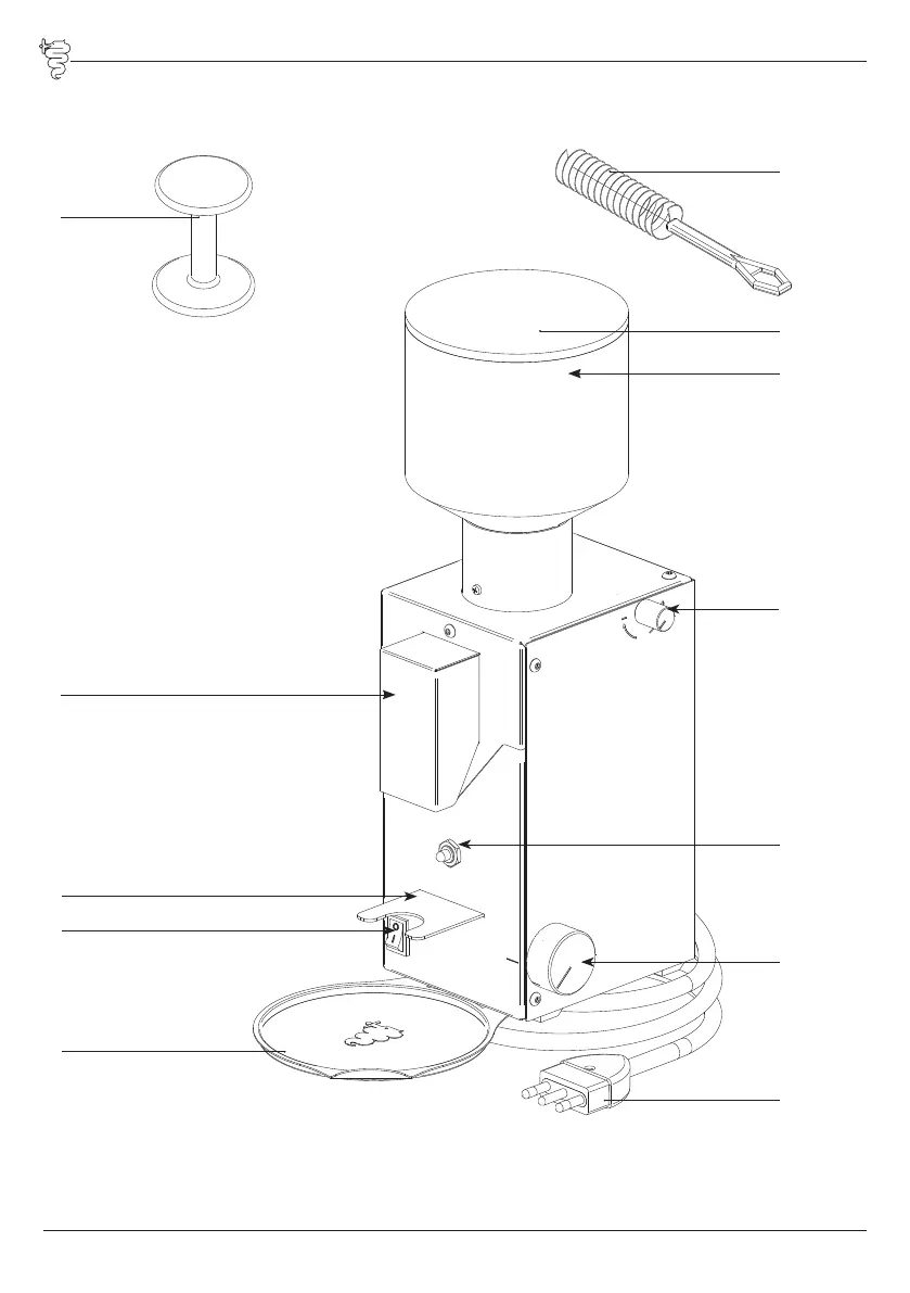
MOD. BEZZERA BB005
2
6
7
11
3
4
5
12
1
10
13
8
FIG. 01
°
° °

Bekijk gratis de handleiding van Bezzera BB005, stel vragen en lees de antwoorden op veelvoorkomende problemen, of gebruik onze assistent om sneller informatie in de handleiding te vinden of uitleg te krijgen over specifieke functies.

Productinformatie

MerkBezzera
ModelBB005
CategorieNiet gecategoriseerd
TaalNederlands
Grootte3660 MB

Caratteristiche Prodotto

Kleur van het productRoestvrijstaal
Gewicht4000 g
Breedte130 mm
Diepte260 mm
Hoogte400 mm