Handleiding
Je bekijkt pagina 71 van 116

PL / 71
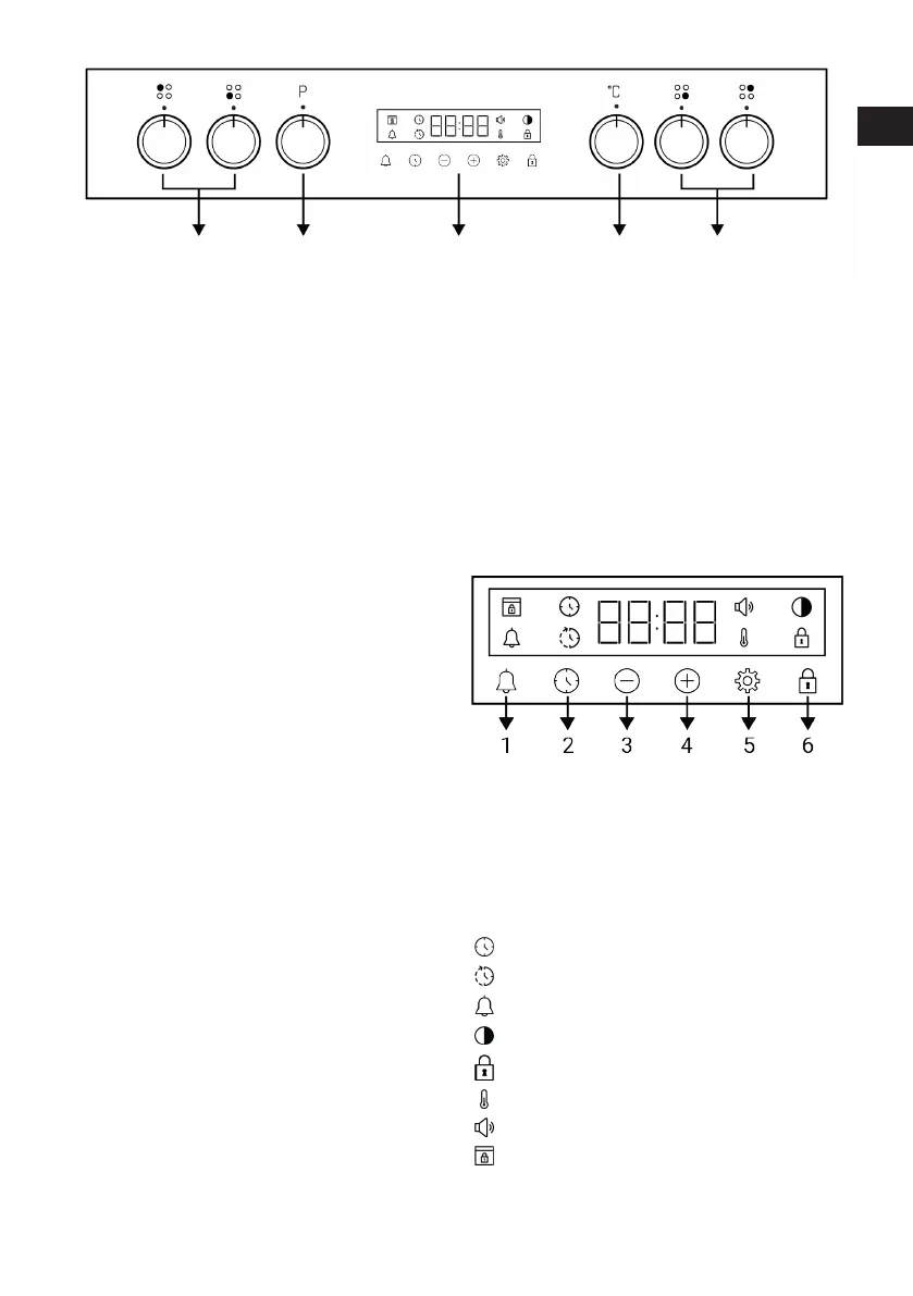
1 2 3 4 5
1 Pokrętło sterowania płytami 2 Pokrętło wyboru funkcji
3 Timer 4 Pokrętło wyboru temperatury
5 Pokrętło sterowania płytami
Jeśli urządzenie jest wyposażone w pokrę-
tła sterujące, w niektórych modelach pokrę-
tła te mogą wysuwać się po naciśnięciu
(pokrętła zakopane). Aby dokonać usta-
wień za pomocą tych pokręteł, najpierw
wciśnij odpowiednie pokrętło i wyciągnij je.
Po dokonaniu regulacji wciśnij je ponownie
z powrotem.
Pokrętło wyboru funkcji
Pokrętłem wyboru funkcji można wybrać
funkcje obsługi piekarnika. Obróć w lewo /
w prawo od pozycji zamkniętej (górnej), aby
wybrać.
Pokrętło wyboru temperatury
Możesz wybrać żądaną temperaturę goto-
wania za pomocą pokrętła temperatury.
Obróć zgodnie z ruchem wskazówek zega-
ra od pozycji zamkniętej (górnej), aby wy-
brać.
Wskaźnik temperatury wewnętrznej pie-
karnika
Temperaturę wnętrza piekarnika można od-
czytać z symbolu temperatury na wyświe-
tlaczu timera. Symbol temperatury pojawia
się na wyświetlaczu po rozpoczęciu goto-
wania, a symbol temperatury znika, gdy
urządzenie osiągnie ustawioną temperatu-
rę. Gdy temperatura wewnątrz piekarnika
spadnie poniżej ustawionej temperatury,
ponownie pojawi się symbol temperatury.
Pokrętło sterowania płytami
Płytę kuchenną można obsługiwać za po-
mocą pokręteł sterujących płyty. Każde po-
krętło obsługuje odpowiedni palnik. Z sym-
boli na panelu sterowania można wywnio-
skować, którym palnikiem steruje.
Timer
1 Przycisk alarmu
2 Przycisk ustawienia czasu
3 Przycisk zwiększania
4 Przycisk zwiększania
5 Przycisk ustawień
6 Symbol blokady przycisków
Wyświetl symbole
: Symbol czasu pieczenia
: Symbol zakończenia pieczenia *
: Symbol alarmu
: Symbol jasności
: Symbol włączonej blokady
: Symbol temperatury
: Symbol poziomu głośności
: Symbol blokady drzwi *
*Różni się w zależności od modelu produktu. Może
nie być dostępny w Twoim produkcie.
EN
PL
Bekijk gratis de handleiding van BEKO FBMA61330GXDT, stel vragen en lees de antwoorden op veelvoorkomende problemen, of gebruik onze assistent om sneller informatie in de handleiding te vinden of uitleg te krijgen over specifieke functies.
Productinformatie
| Merk | BEKO |
| Model | FBMA61330GXDT |
| Categorie | Fornuis |
| Taal | Nederlands |
| Grootte | 12520 MB |







