BEKO BI5DBT68447W handleiding
Handleiding
Je bekijkt pagina 22 van 56

EN / 22
The product automatically adjusts the wa-
ter amount according to the weight of the
laundry put inside it.
Follow the instructions in “Pro-
gramme and consumption table”.
When the appliances is overloaded
product’s washing performance will
drop. Moreover, noise and vibration
problems may occur.
For a successful drying perform-
ance, do not put more laundry in
the machine than specified.
Bathrobe: 1200 g
Bedding: 700 g
Sheet: 500 g
Pillow Case: 200 g
Table Cloth: 250 g
Negligee/Pyjamas: 200 g
Lingerie: 100 g
Shirts: 200 g
Blouse: 100 g
Towel: 200 g
The loading door is locked while a
programme is running. The door
lock will open once the programme
is completed. If the inner part of the
machine is very hot at the end of
the program, the loading door will
not open until the temperature
drops. If the door does not open,
apply the solutions provided for
“Loading Door Cannot Be Opened”
error in the Troubleshooting sec-
tion.
WARNING
If the laundry is placed incorrectly,
noise and vibration problems may
occur in the machine.
5.7 Using Detergent and Softener
WARNING
Read the manufacturer instructions
on the package while using deter-
gents, softeners, starch, bleach and
decolourants, anti-limescale and
follow the dosage information
provided. Use a measuring cup, if
any.
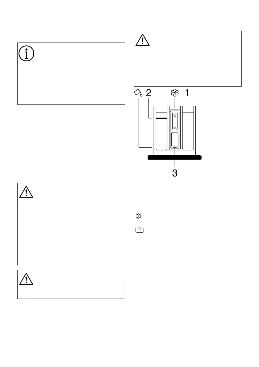
The detergent drawer comprises of three
compartments:
(1) for prewash,
(2) for main washing,
(3) for softener,
( ) a syphon piece in the softener com-
partment,
( ) there is a liquid detergent apparatus
for liquid detergent use in the main wash-
ing compartment.
Detergent, Softener and Other Cleaning
Agents
• Add detergent and softener before start-
ing the washing programme.
• Do not leave the detergent drawer open
when the washing programme is on.
• If you are using a programme without
pre-washing, do not put detergent in the
pre-wash compartment (compartment
no. “1”).
• If you are using a program with prewash,
start the machine after adding powder
detergent to the prewash and main wash
compartments (compartments 1 and 2).
Bekijk gratis de handleiding van BEKO BI5DBT68447W, stel vragen en lees de antwoorden op veelvoorkomende problemen, of gebruik onze assistent om sneller informatie in de handleiding te vinden of uitleg te krijgen over specifieke functies.
Productinformatie
| Merk | BEKO |
| Model | BI5DBT68447W |
| Categorie | Wasmachine |
| Taal | Nederlands |
| Grootte | 4784 MB |







