BEKO BBIM13300XMPSEF handleiding
Handleiding
Je bekijkt pagina 60 van 84

RO / 60
ð Cuptorul începe să funcționeze
imediat la funcția și temperatura
selectate. Timpul de preparare
setat începe contorizarea inversă
și pe afișaj apare simbolul .
Atunci când temperatura din
cuptor atinge temperatura setată,
simbolul dispare.
5. După terminarea timpului de preparare
setat, pe afișaj apare "End" (Sfârșit),
simbolul clipește și cronometrul
emite un semnal sonor.
6. Alarma sonoră este activă două minute.
Apăsați orice tastă pentru dezactivarea
alarmei sonore. Avertismentul se
dezactivează, iar ora apare pe afișaj.
Gătit flexibil (Flexi Crisp)
În cazurile în care doriți ca partea
superioară sau inferioară să se
rumenească mai mult, puteți obține o
preparare mai bună utilizând funcția Gătit
flexibil (Flexi Crisp)”. Cu această funcție,
este efectuată o setare pentru a da mai
multă căldură pe suprafața superioară sau
inferioară în timpul gătitului.
Puteţi utiliza funcţia de preparare
flexibilă cu funcţiile Încălzire
superioară și inferioară, Funcție
„3D” şi Încălzire inferioară/
superioară asistată de ventilator la
temperaturi cuprinse între
150°C-250°C.
Dacă se efectuează modificări ale
temperaturii și ale funcției în timp
ce funcția de preparare flexibilă
este activă, funcția de preparare
flexibilă va fi anulată automat.
Tabel de timp recomandat pentru
preparare flexibilă
În tabelul de mai jos sunt prezentaţi timpii
de preparare flexibilă sugerați în funcție de
timpul de preparare pe care îl veți seta
pentru funcția de preparare flexibilă.
Dacă funcția de preparare flexibilă
nu este încheiată, aceasta va fi
anulată automat după 15 minute.
Timpul de
preparare (min.)
Timpul de utilizare a funcţiei de
preparare flexibilă (min.)
0 - 15 Ultimele 5
15 - 45 Ultimele 10
45 - peste Ultimele 15
Pentru a utiliza funcția de preparare
flexibilă:
1. Începeți prepararea prin selectarea
funcției și a temperaturii la care este
activă funcția de preparare flexibilă.
Puteți utiliza funcția de preparare
flexibilă fără a seta timpul de
preparare, prin control manual sau
prin setarea timpului de preparare.
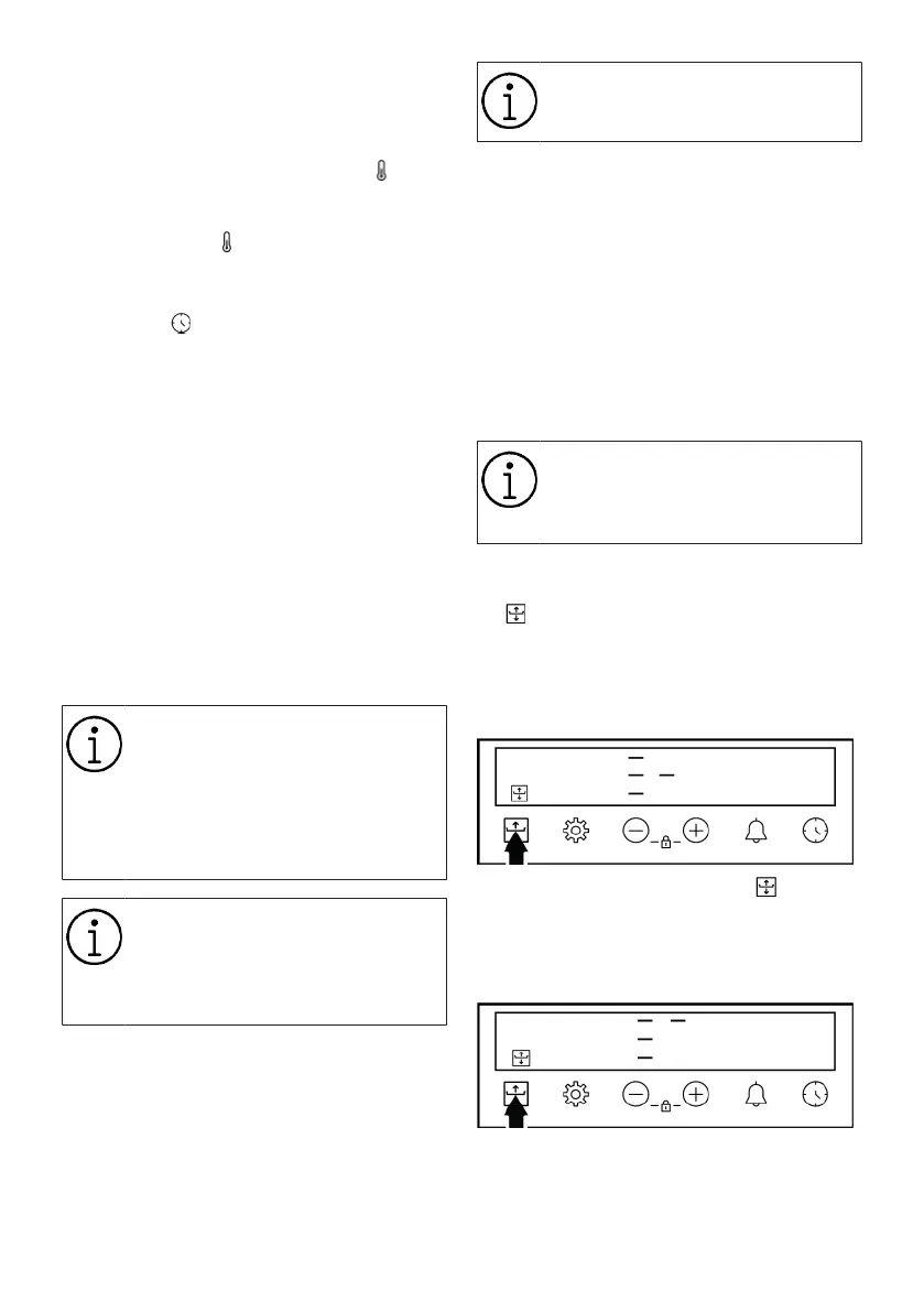
2. Pentru suprafața pe care doriți să o
rumeniți, atingeți mai întâi o dată tasta
.
ð La prima atingere, cuptorul
continuă să funcționeze în mod
normal și pe ecran apare o singură
linie de mijloc lângă cele 3 linii.
ð Atingând din nou tasta , se
activează nivelul de prăjire a
suprafeței superioare, iar pe afișaj
apare o singură linie de nivel
superior alături de cele 3 linii.
Bekijk gratis de handleiding van BEKO BBIM13300XMPSEF, stel vragen en lees de antwoorden op veelvoorkomende problemen, of gebruik onze assistent om sneller informatie in de handleiding te vinden of uitleg te krijgen over specifieke functies.
Productinformatie
| Merk | BEKO |
| Model | BBIM13300XMPSEF |
| Categorie | Niet gecategoriseerd |
| Taal | Nederlands |
| Grootte | 10889 MB |
Caratteristiche Prodotto
| Apparaatplaatsing | Ingebouwd |
| Soort bediening | Rotary, Touch |
| Kleur van het product | Zwart |
| Deurscharnieren | Neer |
| Ingebouwd display | Ja |







