Handleiding
Je bekijkt pagina 19 van 68

EN / 19
6 Use of Your Appliance
6.1 Control Panel of the Product
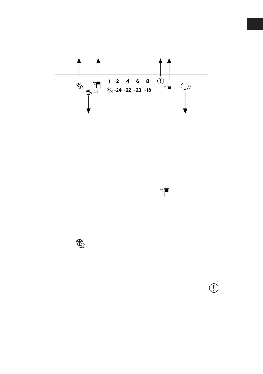
1
2
3 4
56
1 Quick Freezing Key 2 Cooler Compartment Temperature
Setting Key
3 Error Status Indicator 4 Freezer Compartment Temperature
Setting Key
5 Product Switch Off Button 6 Cooler Compartment Off (Vacation)
Function Key
Read the “Safety Instructions” first!
Auditory and visual functions on the indic-
ator panel will assist you when using the
product.
*Optional: Shown functions are optional,
there may be differences of shape and loc-
ation in functions found on your appliance’s
indicator panel.
1.Quick Freezing Key
When the quick freezing key is pressed the
quick freezing symbol shall be illuminated
and the quick freezing function shall be ac-
tivated. The freezer compartment temper-
ature is set to -27 °C. Press the key again to
cancel the function. The quick freezing
function shall be automatically cancelled
after a while. To freeze a large amount of
fresh food, press the quick freezing key be-
fore placing the food in the freezer com-
partment.
2.Cooler Compartment Temperature Set-
ting Key
Allows setting of temperature for cooler
compartment. Pressing the key will enable
the cooling compartment temperature to
be set at 8, 6, 4 °C. It switches to Chill Com-
partment mode when the button pressed
for 3 seconds.
The temperature is first set to 2 degrees,
then to 1 degree when pressed again
briefly, and then to 8,6,4 degrees.
This button must be pressed for 3 seconds
each time you want to switch to Cold Com-
partment mode.
3.Error Condition Indicator
This indicator is enabled when the refriger-
ator is not cooling sufficiently or when a
sensor error occurs. The temperature indic-
ators of the freezer and the refrigerator
flash in certain combinations. This notifies
the service about the error that has oc-
curred. If you put hot food in the freezer
compartment or leave the door open for a
long time, the exclamation mark may light
EN
FR
Bekijk gratis de handleiding van BEKO B3RCNE415HG, stel vragen en lees de antwoorden op veelvoorkomende problemen, of gebruik onze assistent om sneller informatie in de handleiding te vinden of uitleg te krijgen over specifieke functies.
Productinformatie
Merk | BEKO |
Model | B3RCNE415HG |
Categorie | Koelkast |
Taal | Nederlands |
Grootte | 5460 MB |