Beha-Amprobe 2100-Gamma Pro handleiding
Handleiding
Je bekijkt pagina 216 van 218

14
VEDLIGEHOLDELSE OG REPARATION
I henhold til brugervejledningen kræver
spændingstesteren ingen speciel vedligeholdelse. Hvis
der dog skulle opstå en fejlfunktion under driften, skal
målingen stoppes og der må ikke foretages yderligere
målinger. Enheden skal testes af vores serviceafdeling.
Med undtagelse af udskiftning af batterierne, må
enhver reparation af måleinstrumentet kun udføres af
et autoriseret kundeservicecenter eller af en kvalificeret
tekniker.
W Hvis instrumentet ikke bruges i en længere periode,
skal batterierne fjernes, da lækkende batterier kan udgøre
en risiko og forårsage skader.
Rengøring
Inden rengøring skal du frakoble spændingstesteren fra
alle kredsløb. Hvis måleinstrumentet er blevet snavset
pga. daglig brug, kan den rengøres med en fugtig klud
og lidt mildt rengøringsmiddel. Brug aldrig aggressive
rengøringsmidler eller opløsningsmidler for rengøring.
Efter rengøring må måleinstrumentet ikke bruges før det
er helt tørt.
UDSKIFTNING AF BATTERIER
2100-Alpha: Når batterierne bliver svage, TÆNDES LED’en
for lavt batteriniveau
18
. Udskift batterierne.
2100-Beta og 2100-Gamma: I tilfælde af tomme batterier,
viser LCD-skærmen "
". Udskift batterierne.
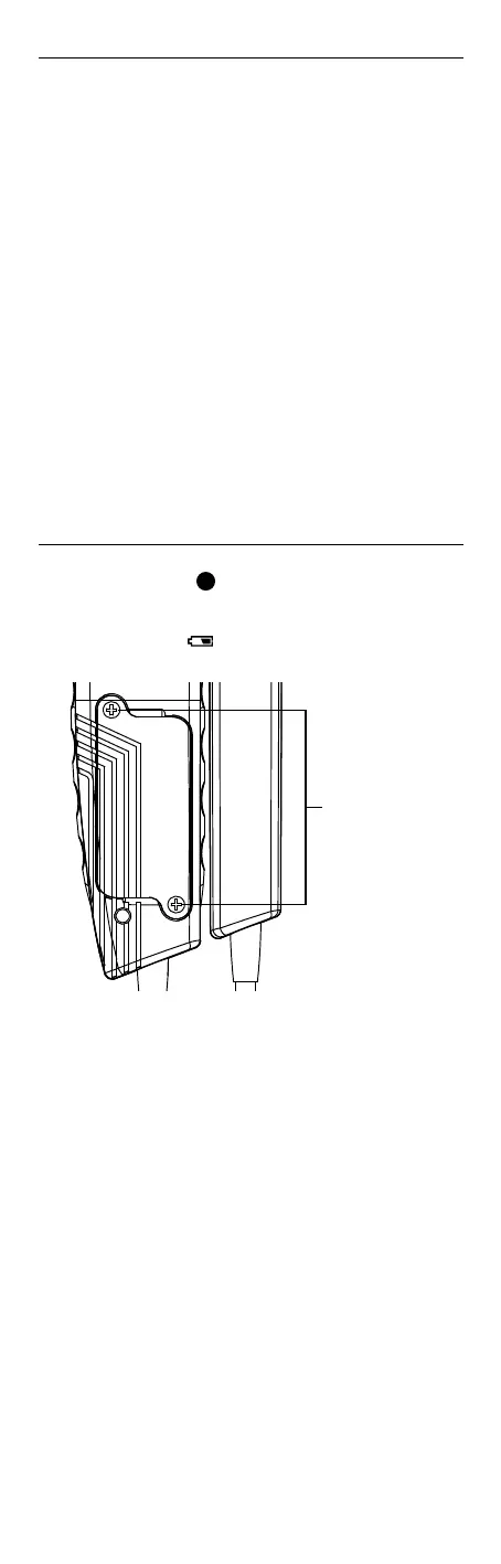
Skruer
• Frakobl spændingstesteren fra alle kredsløb.
• Skru de to metalskruer på batterirummet ud, indtil
batteridækslet kan fjernes.
BEMÆRK: Skru ikke skruerne helt ud.
• Fjern de brugte batterier.
• Indsæt nye batterier af typen 1,5 V IEC LR03. Sørg for
at batteriernes polaritet er korrekt.
• Sæt batteridækslet på igen og skru skruerne fast.
W Hvis batterierne har lækket, må måleinstrumentet
ikke længere bruges og skal testes af vores
serviceafdeling, inden det kan bruges igen.
W Forsøg aldrig at demontere en battericelle!
Batterisyren i cellen er meget alkalisk og ledende. Risiko
for kemiske forbrændinger! Hvis batterisyren kommer i
kontakt med din hud eller beklædning, skal disse pletter
omgående skylles med vand. Hvis du får batterisyre i dine
øjne, skal du omgående skylle dem med rent vand og
konsultere en læge. Vær opmærksom på dette og beskyt
dine omgivelser. Bortskaf ikke brugte batterier i det
almindelige husholdningsaffald, men aflever batterierne
til et genbrugscenter.
Bekijk gratis de handleiding van Beha-Amprobe 2100-Gamma Pro, stel vragen en lees de antwoorden op veelvoorkomende problemen, of gebruik onze assistent om sneller informatie in de handleiding te vinden of uitleg te krijgen over specifieke functies.
Productinformatie
| Merk | Beha-Amprobe |
| Model | 2100-Gamma Pro |
| Categorie | Niet gecategoriseerd |
| Taal | Nederlands |
| Grootte | 19300 MB |
