Baby Lock Regalia Longarm handleiding
Handleiding
Je bekijkt pagina 11 van 71

       Regalia User Manual  | 11
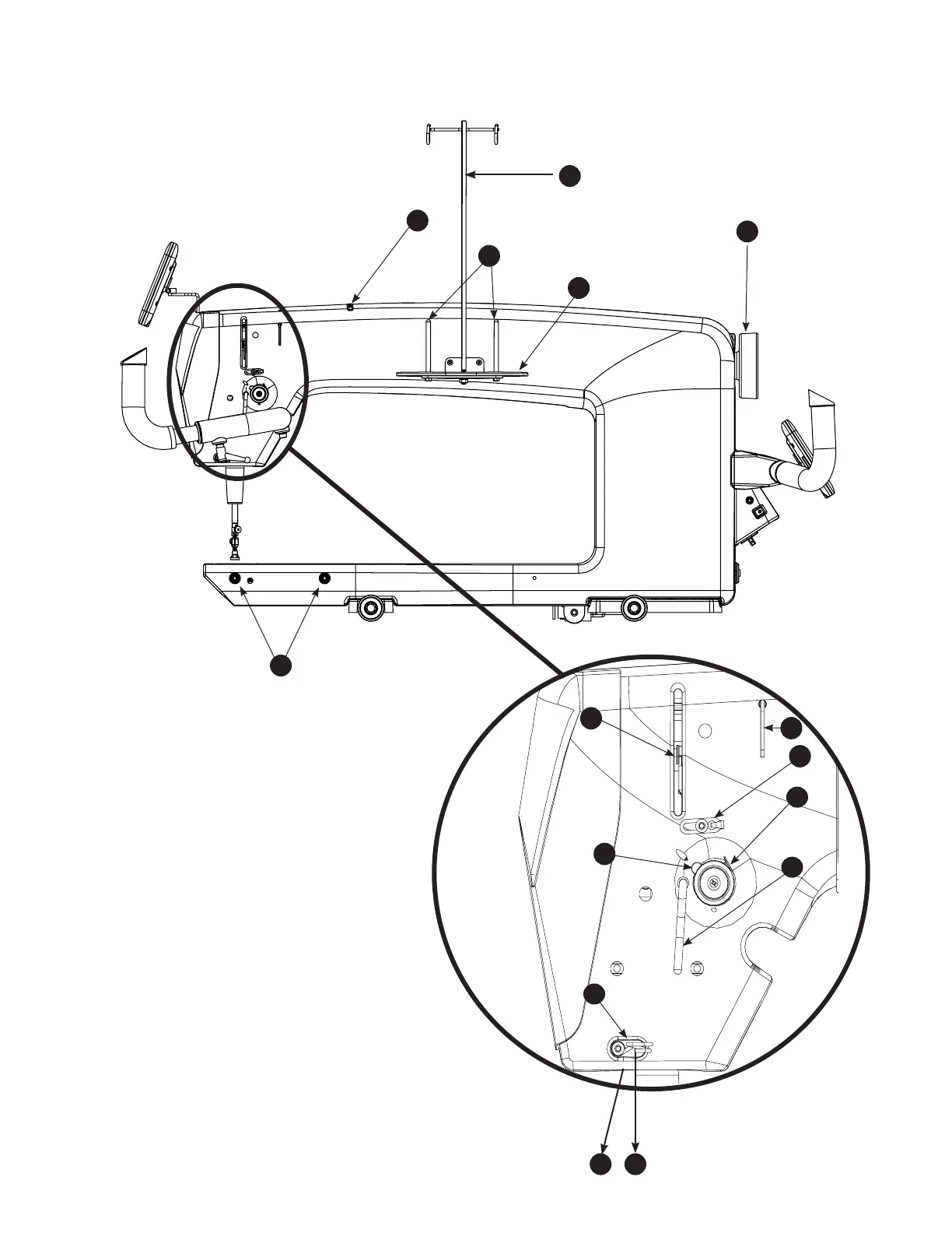
Right side view (picture shown with oponal rear handlebars)
13. Hand wheel
14. Thread tray 
15. Spool pins
16. Thread mast
17. Thread guide
18. Ruler base mounts
Close-up view of tension 
assembly area
19. Three-hole thread guide
20. Thread guide
21. Top tension assembly with take-up spring
22. Thread srrup
23. Take-up lever
24. Thread break sensor
25. Lower thread guide
34
34
39 40
16
15
13
17
14
21
20
23
19
23
24
22
25
18
Bekijk gratis de handleiding van Baby Lock Regalia Longarm, stel vragen en lees de antwoorden op veelvoorkomende problemen, of gebruik onze assistent om sneller informatie in de handleiding te vinden of uitleg te krijgen over specifieke functies.
Productinformatie
| Merk | Baby Lock | 
| Model | Regalia Longarm | 
| Categorie | Niet gecategoriseerd | 
| Taal | Nederlands | 
| Grootte | 20188 MB | 


