API Audio 2500+ handleiding
Handleiding
Je bekijkt pagina 15 van 31

2500+ Bus Compressor API
15
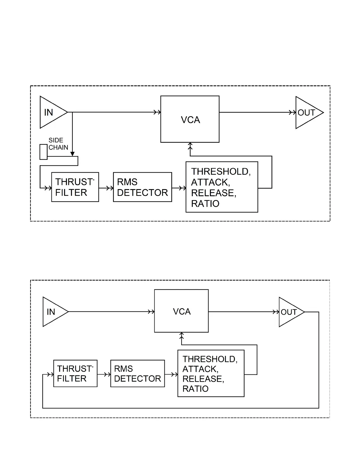
NEW (Feed-Forward)
In a feed-forward compressor, the RMS detector normally gets its signal from a split of the input
signal. (The detector path can alternately get its signal from a SIDE CHAIN input jack.) With this
method, the RMS detector sends a signal to the VCA that is an exact ratio of the desired compression
set by the RATIO control. This is how many new VCA based compressors work. This can yield more
aggressive compression and a harder, more affected sound.
• The yellow LED illuminates when engaged
OLD (Feed-back)
In a feed-back compressor, the RMS detector gets its signal from the output of the gain reduction
device (VCA). This is how older API 525, 1176 type, and 660 type compressors work. This yields a
smoother, softer, more transparent sound.
• The green LED illuminates when engaged
Bekijk gratis de handleiding van API Audio 2500+, stel vragen en lees de antwoorden op veelvoorkomende problemen, of gebruik onze assistent om sneller informatie in de handleiding te vinden of uitleg te krijgen over specifieke functies.
Productinformatie
Merk | API Audio |
Model | 2500+ |
Categorie | Niet gecategoriseerd |
Taal | Nederlands |
Grootte | 4111 MB |