ANCEL AJ400 GDI handleiding
Handleiding
Je bekijkt pagina 12 van 13

9
AJ400 GDI
Injector Cleaner & Tester
ANCEL
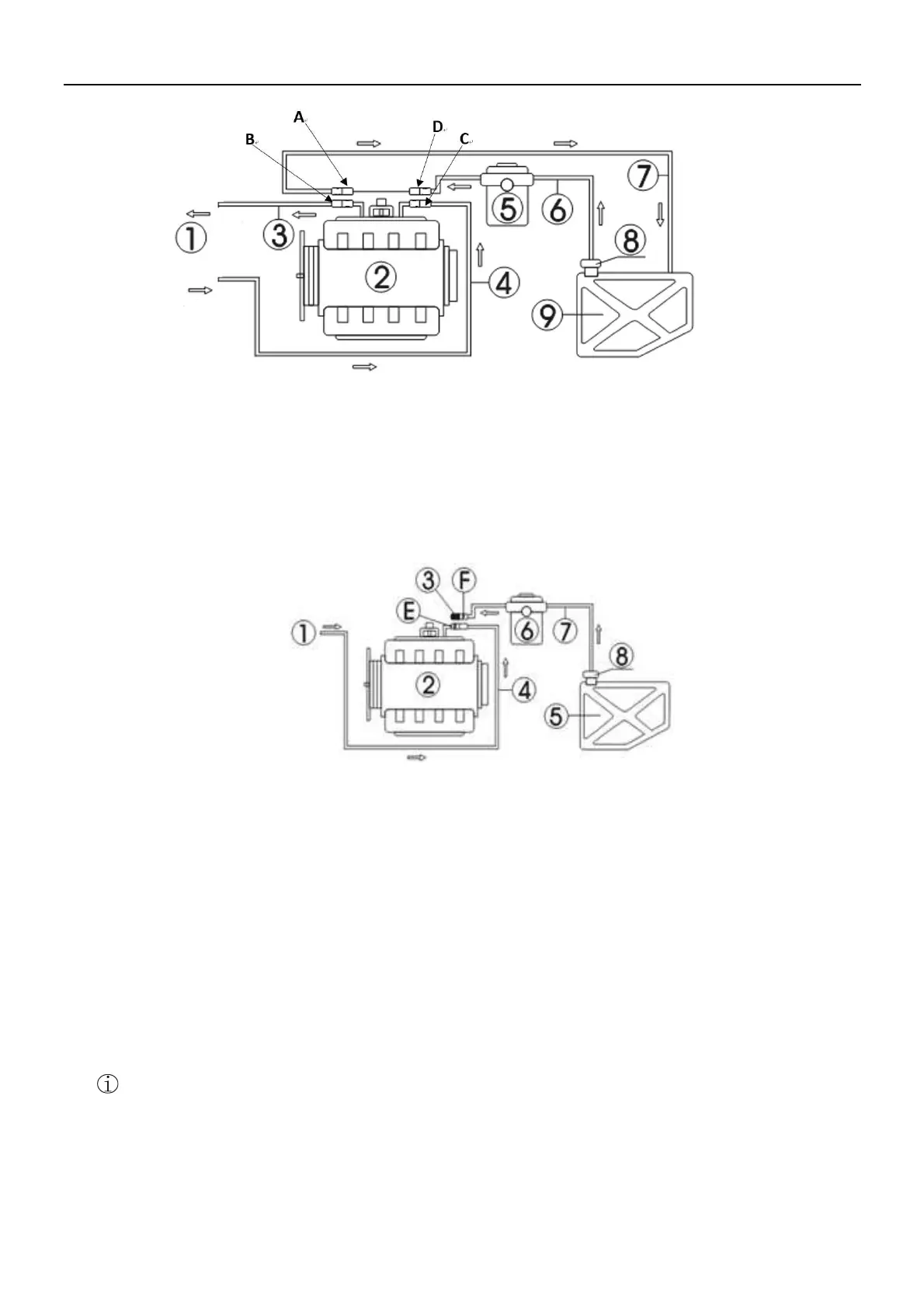
1- Injector Cleaner & Tester; 2-Engine; 3- Fuel-return hose from engine; 4- Fuel-inlet hose to engine;
5-Auto filter; 6-Engine fuel supply hose; 7-Engine fuel return hose; 8-Fuel pump; 9-Fuel tank
Connection without fuel-return hose:
1) Disconnect the fuel supply hoses (E, F) of the engine fuel system (when disconnecting the fuel line connectors,
cover them with towels), and then choose a suitable connector, connect it to the E end and reconnect the fuel
outlet hose of the device. Hang the fuel return hose.
2) Block the other end of the disconnected end (F) with a stopper (for fuel pump with fuel return function only)
or remove the fuse of fuel pump or disconnect the power cable of engine fuel pump.
1- Injector Cleaner & Tester; 2-Engine; 3-Stopper; 4- Fuel-inlet hose to engine;
5-Fuel tank;6-Fuel filter; 7- Engine fuel supply hose; 8-Fuel pump
Tidy up after cleaning
1) After the on-vehicle cleaning is completed, turn off the ignition switch of the vehicle. Restitute the hose
connection, start the engine and accelerate properly to check if there is any fuel leakage at the connectors or in
the hoses.
2) Please clean the fuel tank and the lines of the device with test solution at the end of the on-vehicle cleaning, the
specific procedures are: drain the detergent left in the fuel tank first and dispose it according to its cleanliness.
Add a small amount of test solution into the fuel tank, connect the fuel outlet hose of the device to the fuel return
port and power on the device. Select “Leakage test” item and press RUN key to run the device for about 2∼3
minutes. After the running has stopped, drain the test solution from fuel tank and dispose the drained liquid
according to relevant regulations.
3) Clean up the site and tidy up the washing machine for later use.
Note:
When cleaning, care must be taken as the detergent is inflammable. Prepare at least one effective fire extinguisher.
Be sure that all lines are well connected and there is no leakage before performing cleaning.
VI. Transporting and Storing
6.1
Transporting
Bekijk gratis de handleiding van ANCEL AJ400 GDI, stel vragen en lees de antwoorden op veelvoorkomende problemen, of gebruik onze assistent om sneller informatie in de handleiding te vinden of uitleg te krijgen over specifieke functies.
Productinformatie
| Merk | ANCEL |
| Model | AJ400 GDI |
| Categorie | Niet gecategoriseerd |
| Taal | Nederlands |
| Grootte | 2545 MB |







