Amica KHF 684 611 S handleiding

104 pagina's
PDF beschikbaar

Handleiding

Je bekijkt pagina 100 van 104
- 100 -
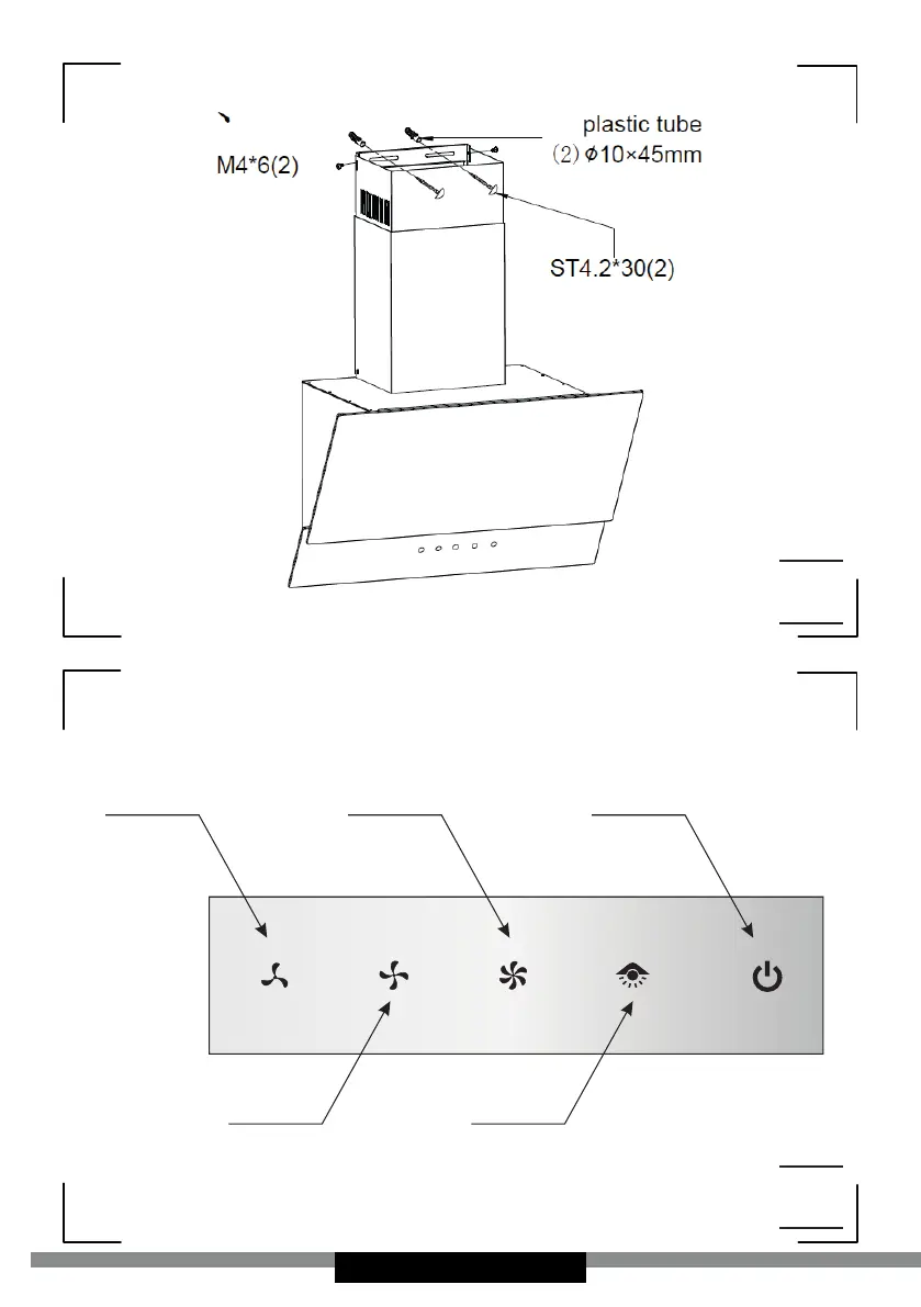
42
31
5
3e
4

Bekijk gratis de handleiding van Amica KHF 684 611 S, stel vragen en lees de antwoorden op veelvoorkomende problemen, of gebruik onze assistent om sneller informatie in de handleiding te vinden of uitleg te krijgen over specifieke functies.

Productinformatie

MerkAmica
ModelKHF 684 611 S
CategorieAfzuigkap
TaalNederlands
Grootte7634 MB