Alpine MRX-T17 handleiding
Handleiding
Je bekijkt pagina 13 van 16

/FR/ES)
13
ALPINE MRX-T17 68-23120Z22-A (EN/FR/ES)
[English]
w Y-Adaptor (Sold Separately)
x RCA Extension Cable
(Sold Separately)
y Speakers
z Head Unit, etc.
1 Subwoofer
[Français]
w Adaptateur en forme de « Y »
(vendu séparément)
x Câble de rallonge RCA
(vendu séparément)
y Haut-parleurs
z Unité principale, etc.
1 Subwoofer
[Español]
w Adaptador en forma de “Y”
(vendido por separado)
x Cable de extensión RCA
(vendido por separado)
y Altavoces
z Unidad principal, etc.
1 Subwoofer
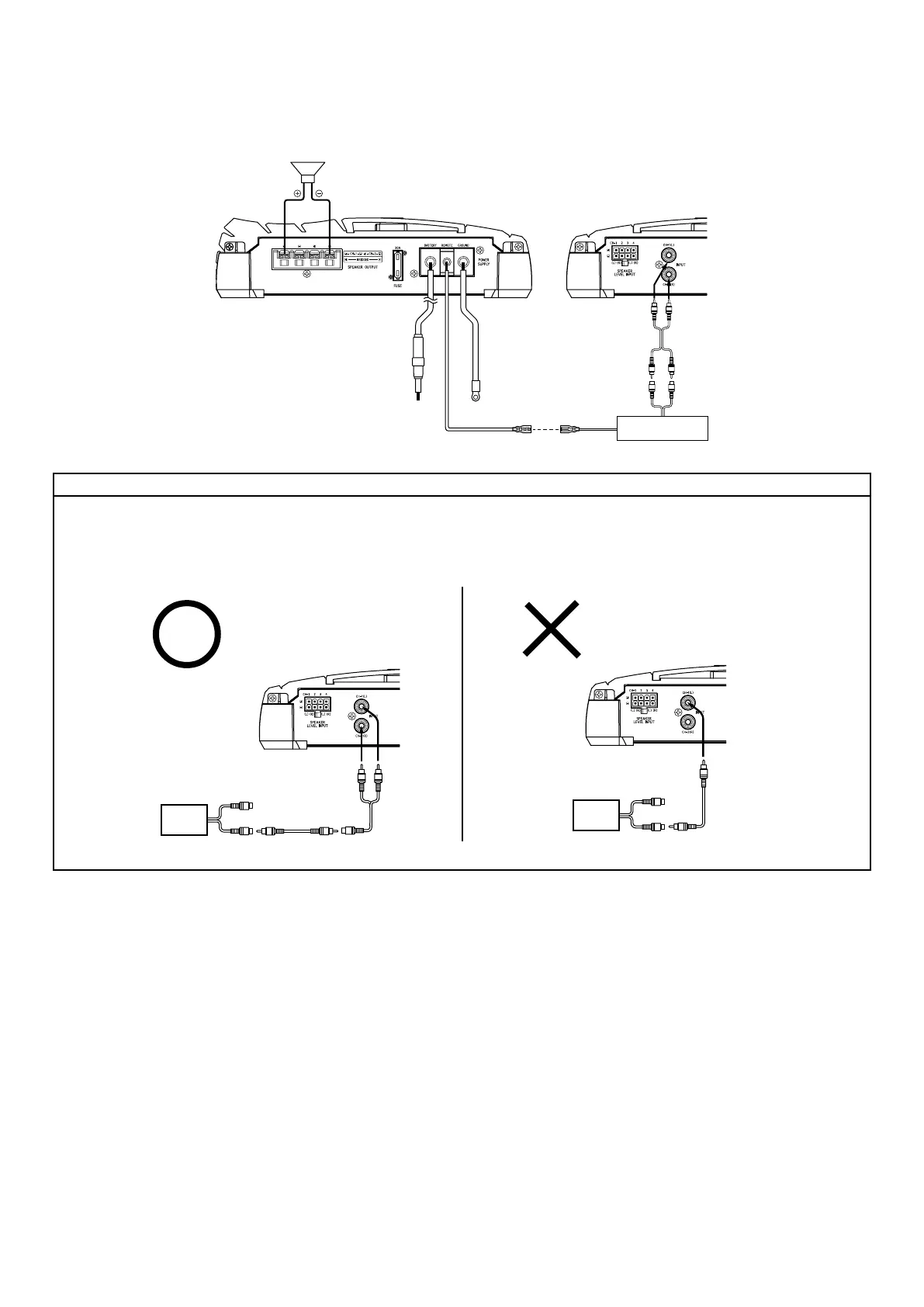
Important Tips on Bridging an Amplifier/Conseils importants lors de la mise en pont d’un amplificateur/Consejos importantes cuando conecte en puente un amplificador
NOTE:
Low output will result if only one channel input is used. The
Y-adapter is not required if a stereo/mono pair line output is used
to drive both inputs of the bridged amp.
REMARQUE :
Le système présente une faible puissance en cas d’utilisation
d’un seul canal d’entrée. L’adaptateur Y n’est pas requis en cas
d’utilisation d’une sortie de ligne ou d’un couple stéréo/mono
pour piloter les deux entrées de l’amplificateur ponté.
NOTA:
Se obtendrán salidas bajas si sólo se utiliza una entrada de
canal. El adaptador-Y no es necesario si se utiliza una pareja de
salida en línea estéreo/mono para conducir ambas entradas del
amplificador puenteado.
(R)
(L)
z
Proper connection/Connexion correcte/
Conexión correcta
(One signal/Un signal/Una señal)
x
w
(R)
(L)
Improper connection/Connexion incorrecte/
Conexión incorrecta
(One signal/Un signal/Una señal)
z
x
Fig. 10
Bridged Connections/Connexions pontées/Conexiones puenteadas•
0
3
(R)(L)
(Left side/
Côté gauche/
Lado izquierdo)
(Right side/
Côté droit/
Lado derecho)
Fig. 9
1
e
z
df
x
Bekijk gratis de handleiding van Alpine MRX-T17, stel vragen en lees de antwoorden op veelvoorkomende problemen, of gebruik onze assistent om sneller informatie in de handleiding te vinden of uitleg te krijgen over specifieke functies.
Productinformatie
| Merk | Alpine |
| Model | MRX-T17 |
| Categorie | Niet gecategoriseerd |
| Taal | Nederlands |
| Grootte | 2478 MB |







