Airforce Split Easy Up handleiding

80 pagina's
PDF beschikbaar

Handleiding

Je bekijkt pagina 41 van 80


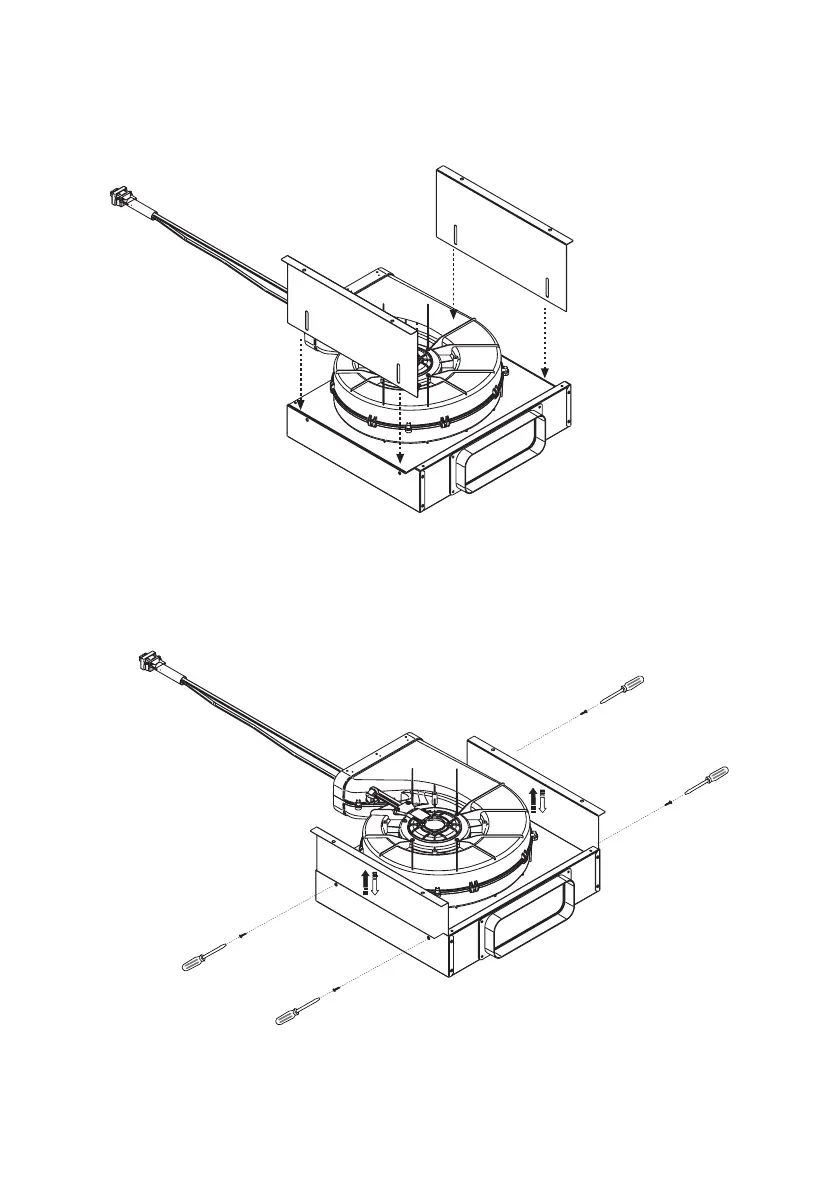
Model:
GABRIELLE FL EASY UP
SPIT FL EASY UP
41

Bekijk gratis de handleiding van Airforce Split Easy Up, stel vragen en lees de antwoorden op veelvoorkomende problemen, of gebruik onze assistent om sneller informatie in de handleiding te vinden of uitleg te krijgen over specifieke functies.

Productinformatie

MerkAirforce
ModelSplit Easy Up
CategorieAfzuigkap
TaalNederlands
Grootte5973 MB