Handleiding
Je bekijkt pagina 40 van 132

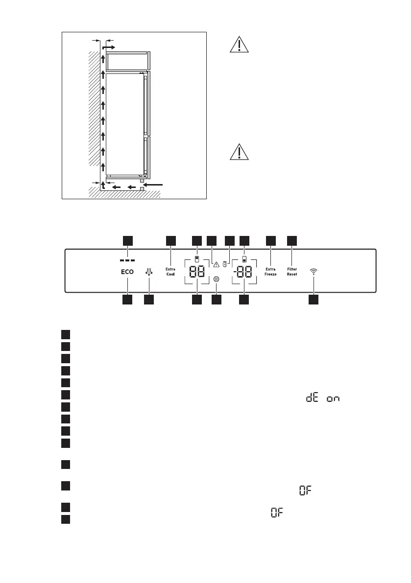
min. 200 cm²
min.
200 cm²
min.
30 mm
min.
30 mm
ATTENTION!
Reportez-vous aux
instructions relatives à
l’installation.
3.5 Réversibilité de la porte
Veuillez vous reporter au document
séparé contenant des instructions sur
l'installation et l’inversion du sens
d’ouverture de la porte.
ATTENTION!
À chaque étape de
réversibilité de la porte,
protégez le sol pour éviter
les rayures dues aux
matériaux durs.
4. BANDEAU DE COMMANDE
1 3 6
10 91214 13 11
4 52 7 8
1
Voyant ECOMETER
2
Touche/voyant Extra Cool
3
Voyant du compartiment réfrigérateur
4
Voyant d’alarme
5
Voyant d’alarme de porte ouverte
6
Voyant du compartiment congélateur
7
Touche/voyant Extra Freeze
8
Touche/voyant d'alarme Filter Reset
9
Touche/voyant de connectivité
10
Touche/voyant de température du
congélateur
11
Indicateur de changement du filtre à
air
12
Touche/voyant de température du
réfrigérateur
13
Touche/voyant Ventilateur
14
Touche ECO
4.1 Activation
Branchez la fiche électrique de l'appareil
à la prise de courant.
Pour sélectionner une température
différente, reportez-vous à « Réglage de
la température ».
Si l'affichage indique
, reportez-
vous à « Dépannage ».
4.2 Désactivation
1. Appuyez simultanément sur les
boutons de température du
réfrigérateur et du congélateur et
maintenez-les enfoncées pendant 5
secondes
L’affichage indique clignotant.
2. Une fois l’appareil éteint, l’affichage
indique .
3. Débranchez la fiche d’alimentation
de la prise secteur.
www.aeg.com40
Bekijk gratis de handleiding van AEG NSC7P751ES, stel vragen en lees de antwoorden op veelvoorkomende problemen, of gebruik onze assistent om sneller informatie in de handleiding te vinden of uitleg te krijgen over specifieke functies.
Productinformatie
| Merk | AEG |
| Model | NSC7P751ES |
| Categorie | Vriezer |
| Taal | Nederlands |
| Grootte | 11701 MB |
Caratteristiche Prodotto
| Apparaatplaatsing | Ingebouwd |
| Soort bediening | Touch |
| Kleur van het product | Wit |
| Deurscharnieren | Rechts |
| Ingebouwd display | Ja |







