Handleiding
Je bekijkt pagina 107 van 132

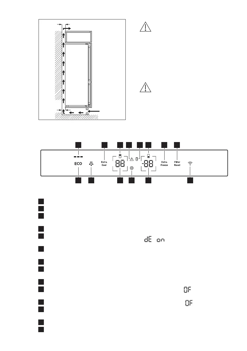
min. 200 cm²
min.
200 cm²
min.
30 mm
min.
30 mm
PRECAUCIÓN!
Consulte las instrucciones
para realizar la instalación.
3.5 Cambio del sentido de
apertura de la puerta
Consulte el documento separado con
instrucciones de instalación y de
inversión de la puerta.
PRECAUCIÓN!
En todas las fases del
cambio de sentido de la
puerta, proteja la puerta de
arañazos con un material
resistente.
4. PANEL DE CONTROL
1 3 6
10 91214 13 11
4 52 7 8
1
Indicador ECOMETER
2
Extra Cool botón / indicador
3
Indicador del compartimento
frigorífico
4
Indicador de alarma
5
Indicador de alarma de puerta
abierta
6
Indicador del compartimento
congelador
7
Extra Freeze botón / indicador
8
Filter Reset botón/indicador de
alarma
9
Botón/indicador de conectividad
10
Botón/indicador de temperatura del
congelador
11
Indicador de cambio de filtro de aire
12
Botón/indicador de temperatura del
frigorífico
13
Ventilador botón / indicador
14
Tecla ECO
4.1 Encendido
Enchufe el aparato a la toma de
corriente.
Para seleccionar un ajuste de
temperatura diferente, consulte
"Regulación de temperatura".
Si
aparece en la pantalla,
consulte "Solución de problemas".
4.2 Apagado
1. Mantenga pulsados simultáneamente
el botón de temperatura del frigorífico
y la tecla de temperatura del
congelador durante 5 segundos
La pantalla muestra parpadeando.
2. Una vez apagado el aparato, la
pantalla muestra .
3. Desconecte el enchufe de la toma de
corriente.
ESPAÑOL 107
Bekijk gratis de handleiding van AEG NSC7P751ES, stel vragen en lees de antwoorden op veelvoorkomende problemen, of gebruik onze assistent om sneller informatie in de handleiding te vinden of uitleg te krijgen over specifieke functies.
Productinformatie
| Merk | AEG |
| Model | NSC7P751ES |
| Categorie | Vriezer |
| Taal | Nederlands |
| Grootte | 11701 MB |
Caratteristiche Prodotto
| Apparaatplaatsing | Ingebouwd |
| Soort bediening | Touch |
| Kleur van het product | Wit |
| Deurscharnieren | Rechts |
| Ingebouwd display | Ja |







