Advantech USB-4761 handleiding
Handleiding
Je bekijkt pagina 31 van 38

25 Chapter 3
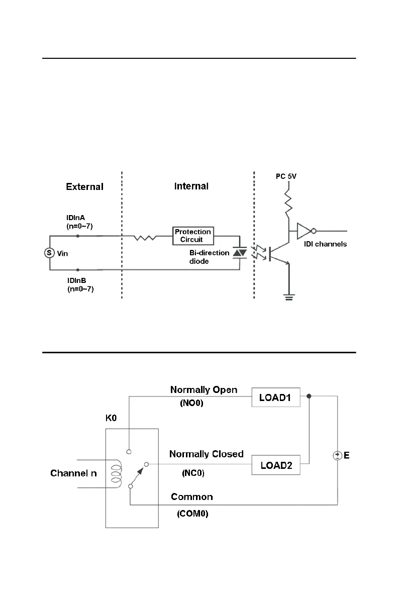
3.3 Isolated Digital Input Connections
3.3.1 Single-ended Channel Connections
USB-4761 has 8 isolated digital input channels. Each of isolated digital
input channel accepts 10~30 V
DC
voltage inputs, and accept bi-direc-
tional input. It means that you can apply positive or negative voltage to an
isolated input pin (Vin ). The figure below shows how to connect an
external input source to one of the card's isolated input channels.
Figure 3.2: Isolated Digital Input Connections
3.4 Relay Connections
After power on, the initial relay output status is shown as below:
Figure 3.3: Relay Output Channel Connections
Bekijk gratis de handleiding van Advantech USB-4761, stel vragen en lees de antwoorden op veelvoorkomende problemen, of gebruik onze assistent om sneller informatie in de handleiding te vinden of uitleg te krijgen over specifieke functies.
Productinformatie
Merk | Advantech |
Model | USB-4761 |
Categorie | Niet gecategoriseerd |
Taal | Nederlands |
Grootte | 2939 MB |
Caratteristiche Prodotto
Breedte | 80 mm |
Diepte | 132 mm |
Hoogte | 32 mm |
Temperatuur bij opslag | -20 - 70 °C |
Relatieve luchtvochtigheid | 5 - 95 procent |