Advantech SOM-7569 handleiding
Handleiding
Je bekijkt pagina 32 van 96

SOM-7569 User Manual 20
Assembly Drawing
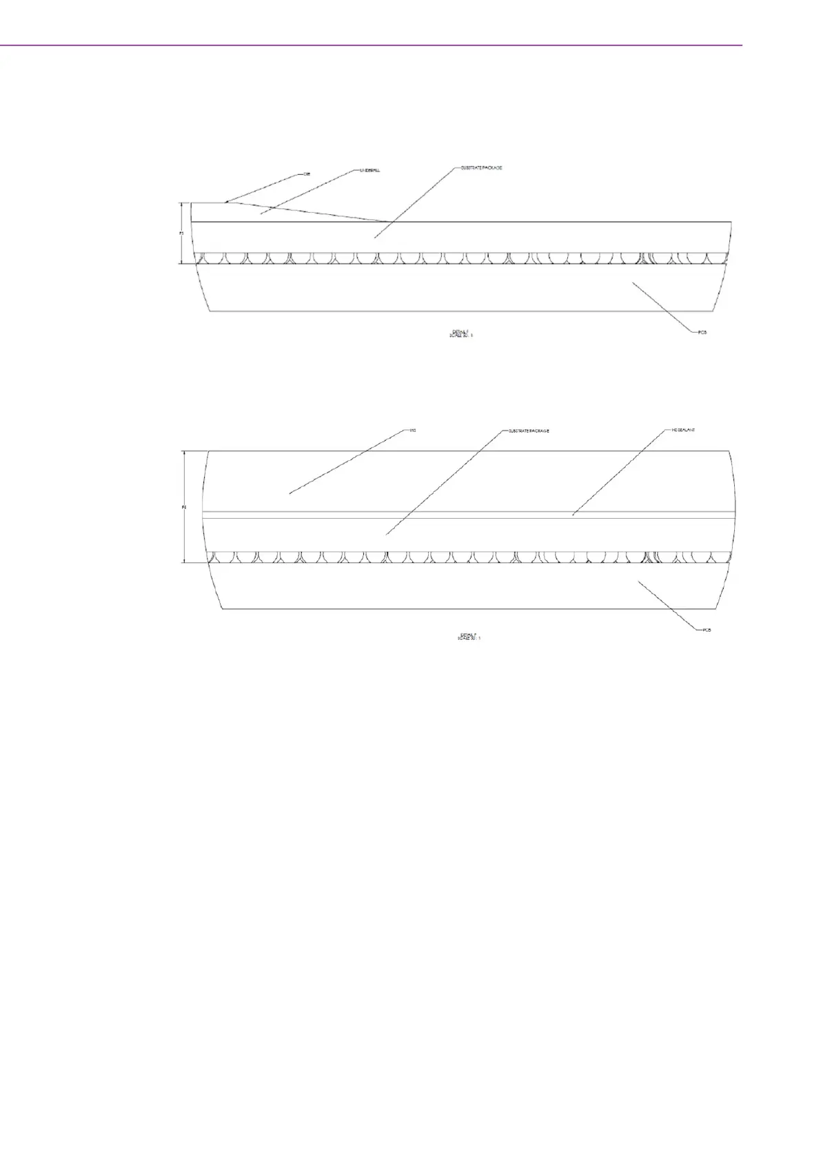
Please consider the CPU and chip height tolerance when designing your thermal
solution.
Intel
®
Pentium and Celeron N and J Series
Figure 2.9 Main Chip Height and Tolerance
Intel
®
Atom
TM
Processor E3900 Series
Figure 2.10 Main Chip Height and Tolerance
Bekijk gratis de handleiding van Advantech SOM-7569, stel vragen en lees de antwoorden op veelvoorkomende problemen, of gebruik onze assistent om sneller informatie in de handleiding te vinden of uitleg te krijgen over specifieke functies.
Productinformatie
Merk | Advantech |
Model | SOM-7569 |
Categorie | Niet gecategoriseerd |
Taal | Nederlands |
Grootte | 8693 MB |