Advantech PCI-1780U handleiding
Handleiding
Je bekijkt pagina 36 van 40

PCI-1780U User Manual 30
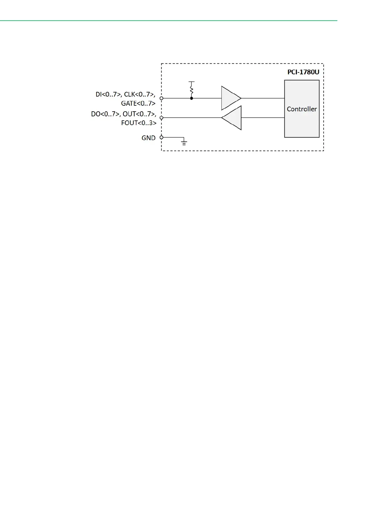
A.1 Function Block Diagram
Figure A.1 Function Block
A.2 Digital Input
Channels: 8 (1-port)
Acquisition type: Instant
Interrupt:
– Supported channel: All channels
– Edge detection: Rising edge, falling edge, or both edges, software configu-
rable per channel
– Pattern match detection: By port detection, each channel can be enabled/dis-
abled and set to a high/low pattern independently by software
– State Latch: The port state is latched when an interrupt occurs for that port
A.3 Digital Output
Channels: 8 (1-port)
Power-on state: Logic low
Update type: Static
Initial output value: Configurable by software. Value is stored in non-volatile
memory, and is loaded and applied to output immediately after powering-on by
the device.
A.4 Counter
Channels: 8 (full function) + 4 (timer/pulse output only)
Resolution: 32 bits
Max. Input Frequency: 10 MHz
Max. Output Frequency: 10 MHz
Debounce filter: Enabled or disabled, software configurable per channel
Filter duration: 400 ns ~ 104.86 ms, software configurable per port
Supported Functions: Event Counter, Frequency Measurement, Pulse Width
Measurement, One Shot, Timer/Pulse, Pulse Width Modulation
Bekijk gratis de handleiding van Advantech PCI-1780U, stel vragen en lees de antwoorden op veelvoorkomende problemen, of gebruik onze assistent om sneller informatie in de handleiding te vinden of uitleg te krijgen over specifieke functies.
Productinformatie
Merk | Advantech |
Model | PCI-1780U |
Categorie | Niet gecategoriseerd |
Taal | Nederlands |
Grootte | 4254 MB |