Advantech PCI-1758 handleiding
Handleiding
Je bekijkt pagina 18 van 34

PCI-1758 Series User Manual 12
3.1 Overview
Maintaining signal connections is one of the most important factors in ensuring that
your application system is sending and receiving data correctly. A good signal con-
nection can avoid unnecessary and costly damage to your PC and other hardware
devices. This chapter provides useful information about how to connect input and
output signals to PCI-1758 series cards via the I/O connector.
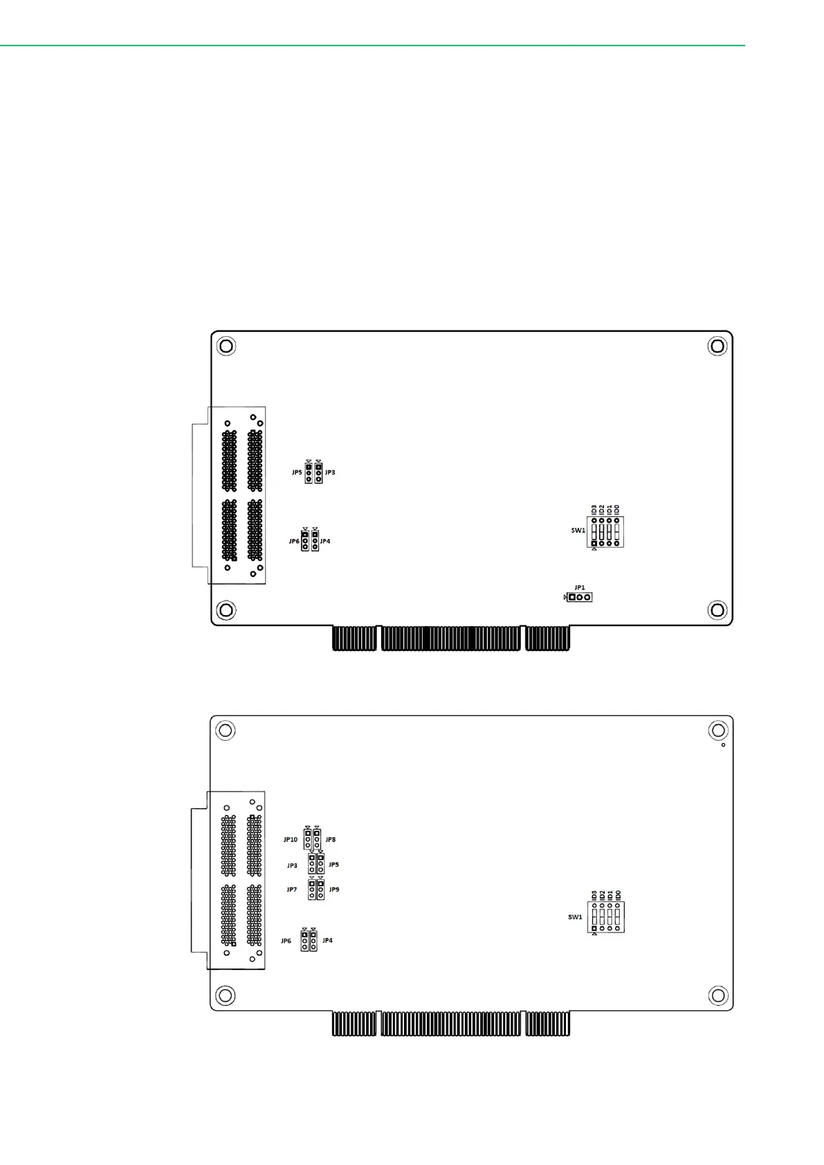
3.2 Card Layout
Figures 3.1 to 3.3 show the connector, jumper, and switch locations on PCI-1758
series cards.
Figure 3.1 PCI-1758UDIO Card Layout
Figure 3.2 PCI-1758UDI Card Layout
Bekijk gratis de handleiding van Advantech PCI-1758, stel vragen en lees de antwoorden op veelvoorkomende problemen, of gebruik onze assistent om sneller informatie in de handleiding te vinden of uitleg te krijgen over specifieke functies.
Productinformatie
Merk | Advantech |
Model | PCI-1758 |
Categorie | Niet gecategoriseerd |
Taal | Nederlands |
Grootte | 3910 MB |