Advantech LEO-S550-DA handleiding

31 pagina's
PDF beschikbaar

Handleiding

Je bekijkt pagina 6 van 31
www.advantech.com
6
6
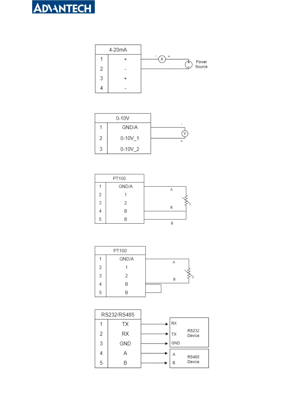
2-Wire:
(4) 0-10V wiring:
(5) PT100 wiring:
3-Wire:
2-Wire:
(6) RS232/RS485 wiring:

Bekijk gratis de handleiding van Advantech LEO-S550-DA, stel vragen en lees de antwoorden op veelvoorkomende problemen, of gebruik onze assistent om sneller informatie in de handleiding te vinden of uitleg te krijgen over specifieke functies.

Productinformatie

MerkAdvantech
ModelLEO-S550-DA
CategorieNiet gecategoriseerd
TaalNederlands
Grootte4007 MB