Handleiding
Je bekijkt pagina 10 van 33

IDK-2121W User Manual 4
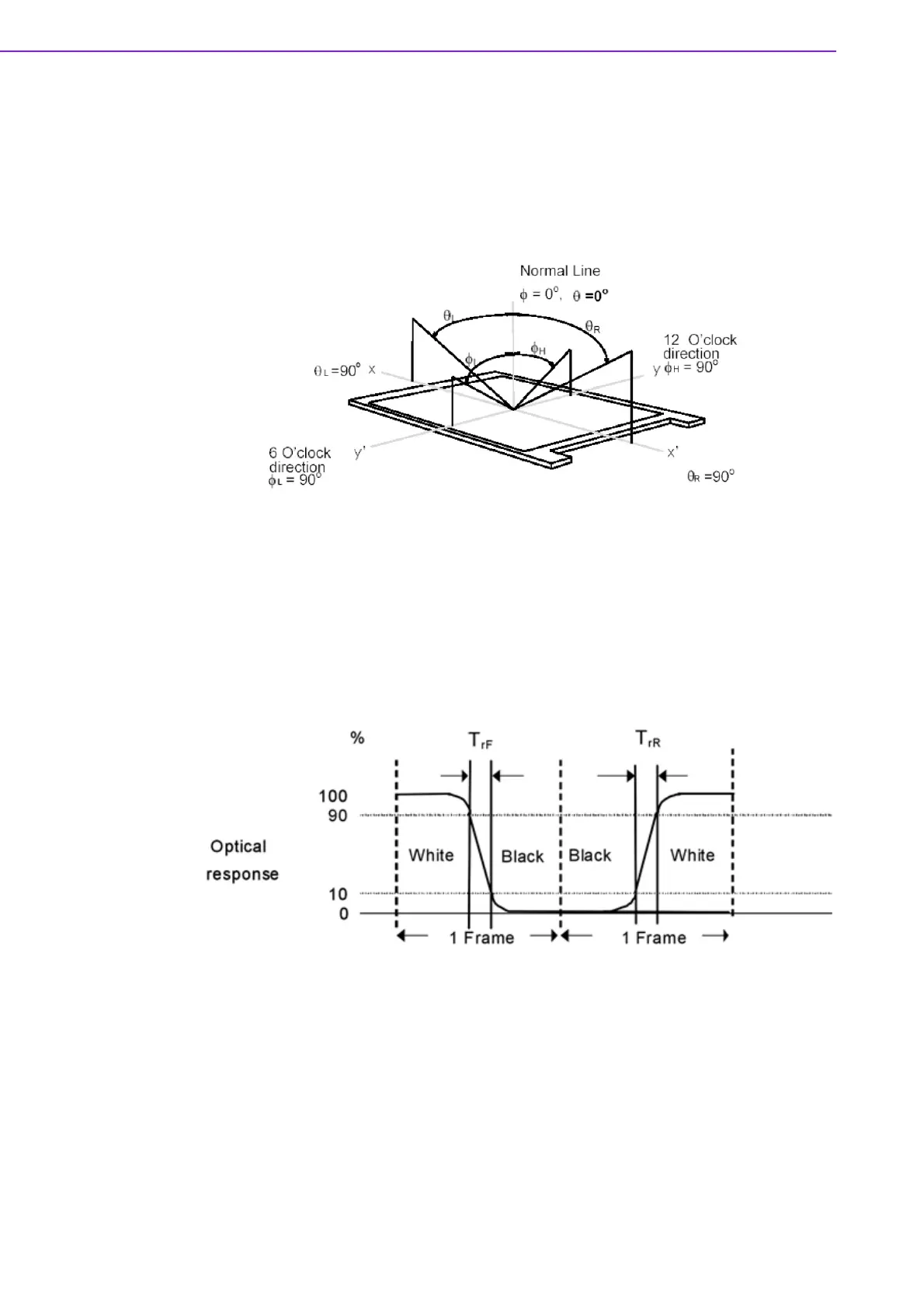
Note 2: Definition of viewing angle measured by ELDIM (EZContrast 88)
Viewing angle is the measurement of contrast ratio at the screen center, over a 180°
horizontal and 180° vertical range (off-normal viewing angles). The 180° viewing
angle range is broken down as : 90° (θ)? horizontal left and right, and 90° (Φ) vertical
high (up) and low (down). The measurement direction is typically perpendicular to the
display surface with the screen rotated to its center to develop the desired measure-
ment viewing angle.
Note 3: Contrast ratio is measured by TOPCON SR-3
Note 4: Definition of Response time measured by Westar TRD-100A
The output signals of photo detector are measured when the input signals are
changed from “Full Black” to “Full White” (rising time, T
rR
), and from “Full White” to
“Full Black” (falling time, T
rF
), respectively. The response time is interval between the
10% and 90% (1 frame at 60Hz) of amplitudes.
T
rR
+ T
rF
= 16msec (typ.)
Note 5: Color chromaticity and coordinates (CIE) is measured by TOPCON SR-3
Note 6: Central luminance is measured by TOPCON SR-3
Bekijk gratis de handleiding van Advantech IDK-2121W, stel vragen en lees de antwoorden op veelvoorkomende problemen, of gebruik onze assistent om sneller informatie in de handleiding te vinden of uitleg te krijgen over specifieke functies.
Productinformatie
| Merk | Advantech |
| Model | IDK-2121W |
| Categorie | Monitor |
| Taal | Nederlands |
| Grootte | 3298 MB |
Caratteristiche Prodotto
| Gewicht | 2600 g |
| Breedte | 497.7 mm |
| Diepte | 10.5 mm |
| Hoogte | 292.2 mm |
| Beeldschermdiagonaal | 21.5 " |







