Advantech IDK-1110P-50XGB1 handleiding
Handleiding
Je bekijkt pagina 36 van 41

IDK-1110P-50XGB1 User Manual 30
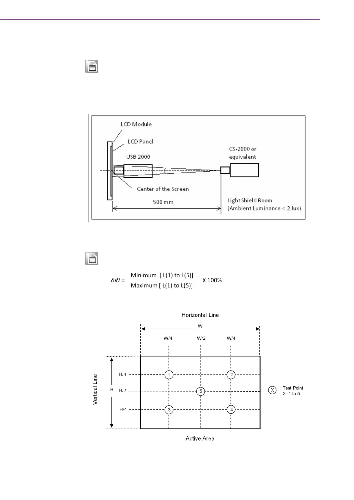
Note (5) Measurement Setup:
The LCD module should be stabilized at given temperature to avoid
abrupt temperature change during measuring. In order to stabilize the
luminance, the measurement should be executed after lighting back
light for 40 minutes in a windless room. The measurement placement of
module should be in accordance with module drawing.
Note (6) Definition of White Variation (
W):
Measure the luminance of White at 5 points.
Luminance of White: L(X), where X is from 1 to 5.
Bekijk gratis de handleiding van Advantech IDK-1110P-50XGB1, stel vragen en lees de antwoorden op veelvoorkomende problemen, of gebruik onze assistent om sneller informatie in de handleiding te vinden of uitleg te krijgen over specifieke functies.
Productinformatie
Merk | Advantech |
Model | IDK-1110P-50XGB1 |
Categorie | Niet gecategoriseerd |
Taal | Nederlands |
Grootte | 4006 MB |
Caratteristiche Prodotto
Kleur van het product | Zwart |
In hoogte verstelbaar | Nee |
Beeldschermdiagonaal | 10.4 " |
Resolutie | 1024 x 768 Pixels |
Touchscreen | Ja |