Advantech EKI-2728 handleiding

28 pagina's
PDF beschikbaar

Handleiding

Je bekijkt pagina 28 van 28
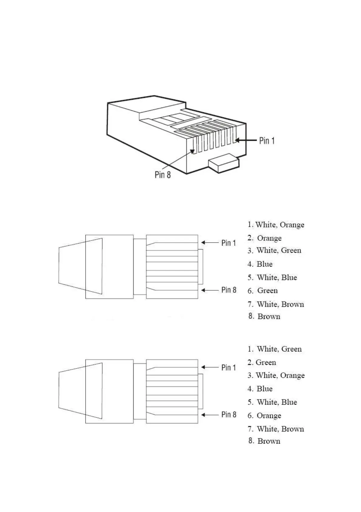
Appendix A Pin Assignment & Wiring
It is suggested to adopt ELA/TIA as the wiring of the RJ-45.
Figure A.1: RJ-45 Pin Assignment
Figure A.2: EIA/TIA-568B
Figure A.2: EIA/TIA-568A
EKI-2728 User Manual.doc 20

Bekijk gratis de handleiding van Advantech EKI-2728, stel vragen en lees de antwoorden op veelvoorkomende problemen, of gebruik onze assistent om sneller informatie in de handleiding te vinden of uitleg te krijgen over specifieke functies.

Productinformatie

MerkAdvantech
ModelEKI-2728
CategorieNiet gecategoriseerd
TaalNederlands
Grootte3291 MB