Adj Pixie Driver 2000 handleiding

26 pagina's
PDF beschikbaar

Handleiding

Je bekijkt pagina 7 van 26
7
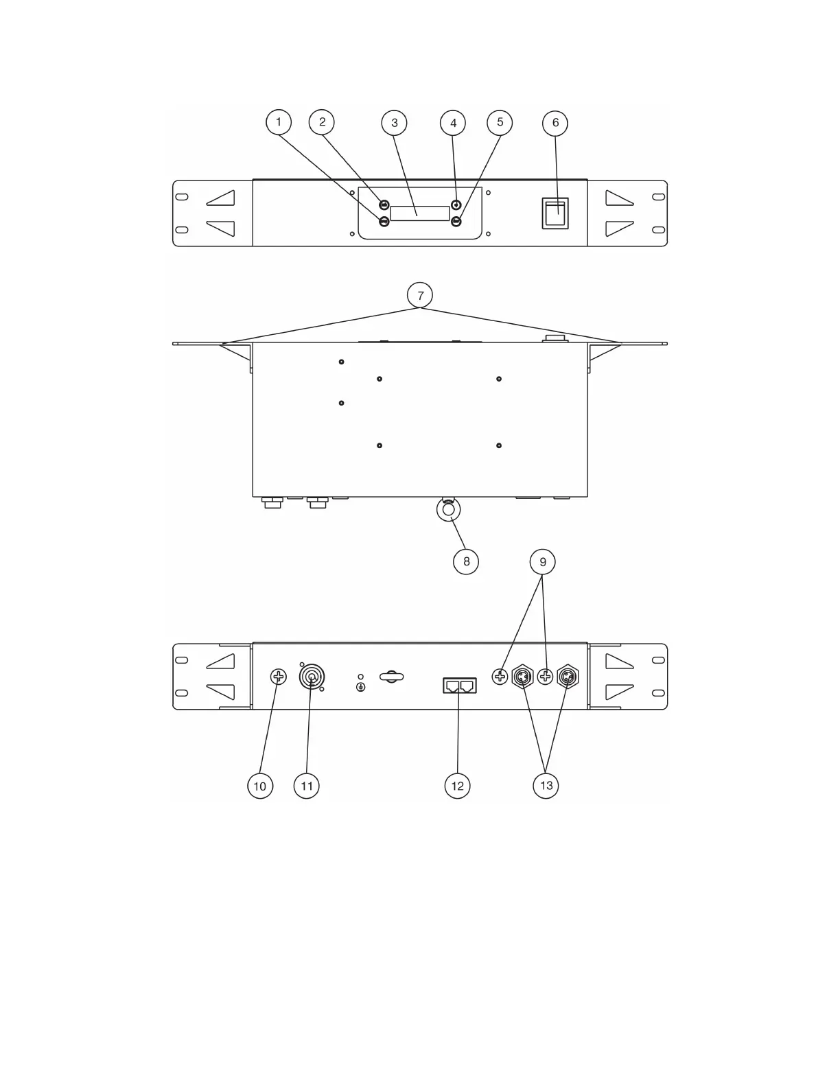
OVERVIEW
1. Setup Button
2. Mode Button
3. LCD Screen
4. Up Button
5. Down Button
6. Main Power Switch
7. Mounting Brackets
8. Safety Cable Attachment Point
9. 10A Output Fuses
10. 3A Input Fuse
11. Power In
12. Kling-Net/Art-Net Ports
13. 4-pin Outlet Sockets

Bekijk gratis de handleiding van Adj Pixie Driver 2000, stel vragen en lees de antwoorden op veelvoorkomende problemen, of gebruik onze assistent om sneller informatie in de handleiding te vinden of uitleg te krijgen over specifieke functies.

Productinformatie

MerkAdj
ModelPixie Driver 2000
CategorieNiet gecategoriseerd
TaalNederlands
Grootte3129 MB