Acti R71CF-38 handleiding
Handleiding
Je bekijkt pagina 10 van 19

www.acti.com
USER’S MANUAL
10
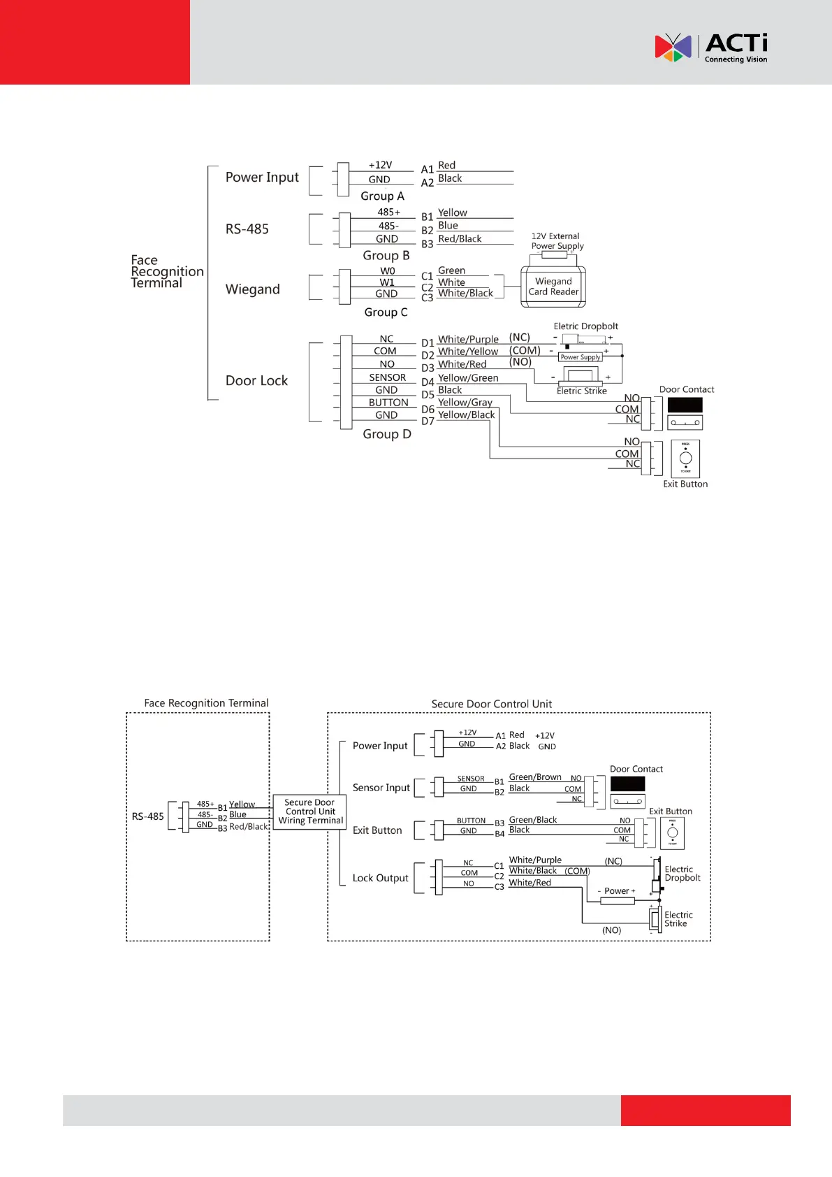
Wiring Common Devices
When connecting to a Wiegand Card Reader, set the device Wiegand direction as Input.
When connecting to an access controller, set the device Wiegand direction as Output to
transmit authentication information to the access controller.
Do not wire the device to the electric supply directly.
Wiring Secure Door Control Unit
The secure door control should connect to an external power supply separately. The
suggested external power supply is 12V, 0.5A
Bekijk gratis de handleiding van Acti R71CF-38, stel vragen en lees de antwoorden op veelvoorkomende problemen, of gebruik onze assistent om sneller informatie in de handleiding te vinden of uitleg te krijgen over specifieke functies.
Productinformatie
| Merk | Acti |
| Model | R71CF-38 |
| Categorie | Niet gecategoriseerd |
| Taal | Nederlands |
| Grootte | 3343 MB |







