ACR C406-2 handleiding
Handleiding
Je bekijkt pagina 44 van 66

ARTEX PRODUCTS / ACR ELECTRONICS, INC
DESCRIPTION, OPERATION, INSTALLATION AND MAINTENANCE MANUAL
C406-2 (453-5000), C406-2HM (453-5001)
570-5000 Rev. V Company Confidential 25-62-11 Page 44 of 66
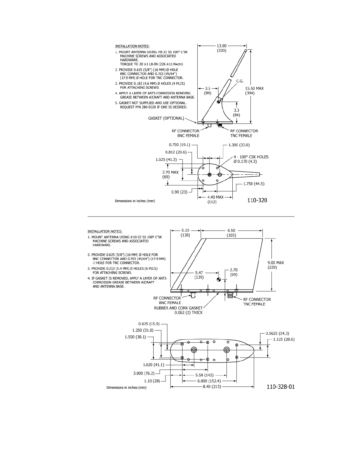
Figure 16 Rod Antenna 110-320 and Blade Antenna 110-328-01 Outlines and Dimensions
Bekijk gratis de handleiding van ACR C406-2, stel vragen en lees de antwoorden op veelvoorkomende problemen, of gebruik onze assistent om sneller informatie in de handleiding te vinden of uitleg te krijgen over specifieke functies.
Productinformatie
| Merk | ACR |
| Model | C406-2 |
| Categorie | Niet gecategoriseerd |
| Taal | Nederlands |
| Grootte | 7243 MB |

