Handleiding
Je bekijkt pagina 14 van 39

4
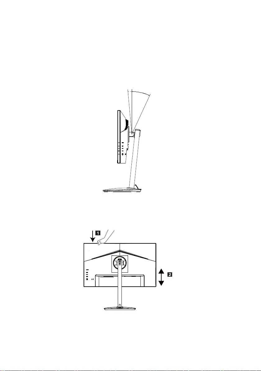
POSITIE VAN SCHERM AANPASSEN
Om de beste kijkpositie te optimaliseren, kunt u de hoogte/kanteling/Pivot/
Swivel van de
monitor aanpassen.
• Kantelen
Kijk naar de onderstaande afbeelding om een voorbeeld te zien van het
kantelbereik.
• Instellen van de hoogte
Druk op de bovenkant van de monitor om de hoogte van de monitor in te
stellen.
-5°
+25°
120mm
Bekijk gratis de handleiding van Acer XF243YS, stel vragen en lees de antwoorden op veelvoorkomende problemen, of gebruik onze assistent om sneller informatie in de handleiding te vinden of uitleg te krijgen over specifieke functies.
Productinformatie
| Merk | Acer |
| Model | XF243YS |
| Categorie | Monitor |
| Taal | Nederlands |
| Grootte | 2614 MB |







