Handleiding
Je bekijkt pagina 40 van 44

39
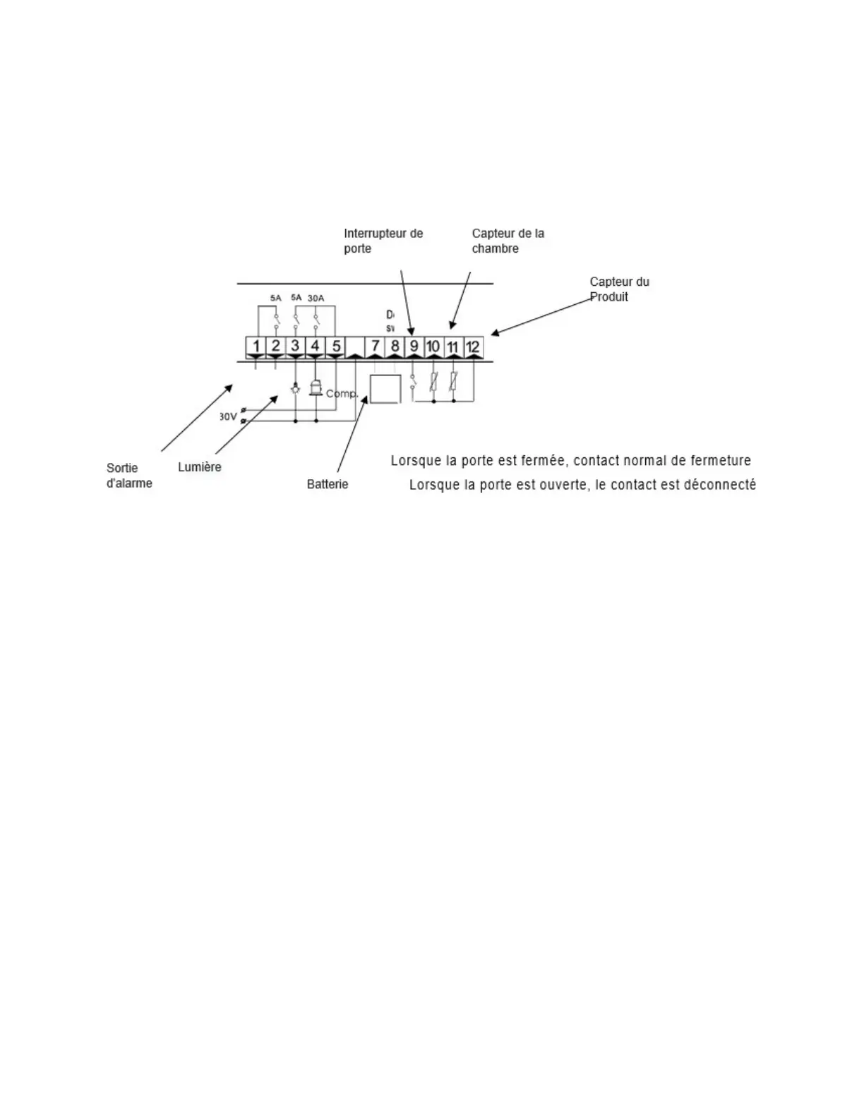
Lorsque la porte est ouverte, l'interrupteur d'éclairage peut allumer et éteindre la lumière.
Schéma
Notes pour l'Installation:
1. Les fils du capteur doivent être séparés des fils de tension principale afin d'éviter le bruit à haute
fréquence induit. Séparez l'alimentation électrique des charges de l'alimentation électrique du
contrôleur.
2. Lors de l'installation, le capteur doit être placé avec la tête vers le haut et le fil vers le bas
3. Le régulateur de température ne doit pas être installé dans une zone où l'eau goutte
Bekijk gratis de handleiding van Accucold AFS14PVDL2B, stel vragen en lees de antwoorden op veelvoorkomende problemen, of gebruik onze assistent om sneller informatie in de handleiding te vinden of uitleg te krijgen over specifieke functies.
Productinformatie
| Merk | Accucold |
| Model | AFS14PVDL2B |
| Categorie | Vriezer |
| Taal | Nederlands |
| Grootte | 5005 MB |







